高速钢的热处理

1 高速钢的退火处理
由于高速钢中有较高的碳含量和大量的合金元素,在冶金厂轧制或锻造以后。即使空冷的情况下,也会有较高的硬度,因此必须进行退火软化处理,达到标准规定的硬度值才能出厂。工具制造者有时要对高速钢进行锻造成型或为改善碳化物偏析而进行锻造,有时用热轧成型方法制造工具,有时需要对淬火件进行返修等,这都需要对高速钢进行退火。
国内外的实验都表明,高速钢退火时如果保温时间太长,会显著降低工具的使用寿命,因此,选择合理的退火工艺规范非常重要。

常用高速钢的退火温度和退火以后的硬度见表1 。
▼表1 高速钢的热处理规范

退火的保温时间根据装炉量等情况有所不同,一般应在3~4h以上。保温后可采用10℃~20℃的速度冷却至600℃以下出炉。也可以采用冷却至740℃~760℃,停留4~5h,再冷至600℃以下出炉的等温退火方法。
高速钢还有一种高温退火方法可以大大缩短退火生产周期,提高退火质量。高温退火的加热温度是由普通退火的840℃~860℃,提高到880℃~920℃。普通退火方法在Ar1点以下保温,由于温度较低,虽然保温时间长,但高速钢仍然不能进行充分结晶,钢材不能充分软化。高温退火时将温度提到到Ar1以上,相变可以瞬间完成,并且进行得很充分,实现了完全再结晶,因此钢材得到充分软化。
图1为高温退火工艺曲线与普通退火工艺曲线的比较。

▲图1 高速钢普通退火与高温退火工艺曲线
a)高速钢普通退火 b)高温退火工艺
由图可见,高温退火工艺的保温时间大大缩短。高温退火钢材的硬度更低,切削性能更好,切削效率可以提高20%,制成刀具的切削寿命,比普通退火的高15%~20%。
2 可改善加工性能的热处理
改善高速钢的可加工性和表面粗糙度,可以按照表2推荐的工艺对高速钢进行预备热处理。使毛坯的硬度达到280~370HBW。
▼表2 改善高速钢可加工性的预备热处理

表2中的一次处理方法(工艺方法Ⅰ、Ⅱ)比调质处理(工艺方法Ⅲ)的效果更好。采用此方法处理的高速钢在较大的切削用量条件下,加工的表面粗糙度Ra可以达到1.6μm。
一次处理的方法加热温度较低,在以后加热时奥氏体晶粒度不均匀长大的倾向小。退火前做一次720℃~760℃的退火,可以避免晶粒不均匀长大。
3 去应力
经塑性变形加工方法制成的毛坯以及冷拉、冷挤压的各种原材料或毛坯,为了消除工的冷作硬化现象,采用720℃~760℃的低温退火方法。对于形状复杂、切削量较大或薄片状工具。为了减少淬火畸变或产生淬火裂纹,常用600℃~650℃的高温回火消除应力。为了消除磨削加工的应力,可在200℃~500℃温度下回火1~2h,粗磨后可在500℃的温度下消除应力,精磨后在200℃温度下消除应力。
4 淬火
说明:以下叙述的高速钢热处理工艺主要适用于盐浴炉。
4.1 预热
高速钢导热性差,工件不容易热透,淬火加热前必须进行预热。一般要进行两次预热,工艺参数如下:
低温预热:450℃~500℃,保温1~1.5min/mm(空气炉);
600℃~650℃,保温0.8~1.0min/mm(盐浴炉)。
中温预热:800℃~850℃,保温0.4~1.0min/mm(盐浴炉)。
尺寸不大,形状简单的工具可以采用一次预热,对于大多数工具来说,以两次预热为好,这有利于减少淬火畸变和开裂,而且第一次预热可以烤干工件表面水分,不会产生溅盐现象,利于安全。
4.2 淬火加热
4.2.1 加热温度
高速钢淬火加热温度的选择,首先是由其牌号成分决定的,同时也要考虑工具的种类和规格,专门针对具体加工对象制造的工具还必须考虑到被加工材料的可加工性和切削规范等使用条件。
各种高速钢的淬火加热温度如表3所示。
▼表3 几种低合金高速钢的热处理规范

随着加热温度的升高,碳化物不断溶入高速钢基体,高速钢中的残留碳化物数量不断减少。图2显示了W18Cr4V和W6Mo5Cr4V2两种高速钢在淬火加热时碳化物数量逐渐减少的情况。

▲图2 高速钢中碳化物数量与淬火温度的关系
图2中,W18Cr4V碳化物的质量分数加热前在25%以上,加热到1300℃时只有15%左右,W6Mo5Cr4V2高速钢中碳化物质量分数淬火前在20%以上,加热到1300℃时只有10%多一些。
随着碳化物的不断溶入基体,基体中的C、W、Mo、Cr、V等元素含量不断升高,这有利于提高淬火后形成的马氏体的耐磨性和热硬性。图3 为W18Cr4V和W6Mo5Cr4V2两种高速钢C及W、Mo、Cr、V含量随淬火温度的升高而升高的情况。

▲图3 高速钢中合金元素含量与淬火温度的关系
其中C含量几乎随淬火温度的升高呈直线上升。Cr的含量随着淬火温度的升高而增加,1100℃以上Cr含量不再增加,说明Cr的碳化物几乎全部溶入了基体。W、Mo、V的含量随着淬火加热温度的升高而不断上升,直到1300℃还在增加,说明此时这些碳化物只是部分溶入奥氏体,尚未完全溶解。
4.2.2 淬火加热时间
高速钢的淬火加热时间通常以工件的有效厚度乘以加热系数来计算,有效厚度参照表4 。
▼表4 有效厚度的计算方法和淬火加热系数

高速钢在盐浴中的加热系数与淬火加热温度有关,1150℃~1240℃加热可选10~20s/mm。工件种类、规格不同,加热系数也应做适当调整。
加热系数只是作为单件加热时间的计算依据,在实际生产中装炉量大的时候,必须考虑加热炉的类型、结构、功率、升温速度、零件的装卡方式、装炉量大小和预热情况等等因素来最终确定加热时间。
高速钢淬火加热时要达到比较高的奥氏体化程度,淬火加热温度和保温时间都很重要,只是淬火温度的作用相对大一些。对两者作用进行综合考虑,可以用淬火参量公式表达。
P=t(37+logτ)
式中 P——淬火参量
t——淬火加热温度
τ——淬火加热时间
公式中淬火参量P,代表了淬火加热温度和加热时间的综合作用。在淬火过程中,无论淬火加热温度和保温时间怎样变化,只要两者的作用结果和淬火参量相同,那么奥氏体化的程度就是相同的。图4表示淬火参量、碳化物量和残留奥氏体量的关系。

▲图4 淬火参量与碳化物量和留奥氏体量的关系
4.3 冷却
高速钢的淬火冷却,从确保在冷却过程中碳化物不从奥氏体中析出、保证最好的合金化程度的 角度来说,应该是冷却速度越快越好;但从避免零件开裂和减少畸变防止开裂的角度上说,冷却速度越慢越好。这两者相互矛盾,在实际生产中,是通过保证淬火硬度的前提下尽量缓慢冷却,以免产生废品来掌握的。
高速钢在从高温炉中出来后,在浸入淬火介质之前即使在高温短时间的停留都会有碳化物析出。这种碳化物的析出过程,通过高倍电子显微镜可以清晰地观察到。
图5显示了M7高速钢在1190℃奥氏体化后,冷却时中间停留对 碳化物析出的影响。

▲图5 高温停留有碳化物析出
a)从奥氏体化温度直接水冷(无碳化物)12600X
b)在890℃停留30s后水冷(有碳化物)12600X
图5 a)是中间没有停留,奥氏体化后直接水冷,可以看到没有析出物,晶界很清晰。图5 b)是从1190℃冷却到980℃,停留了30s,可以看到晶界及基体内都明显的有小颗粒状碳化物析出。
从高速钢制工具的使用寿命角度看,高速钢淬火冷却时最好是出炉立即浸入冷却介质,中间停留会引起碳化物析出,从而损害耐磨性和热硬性。
关于高速钢淬火的冷却方法,早期较普遍的做法是采用油冷淬火,现在已较少采用。目前国内多采用600℃左右的分级冷却。俄罗斯曾实验提高分级温度到680℃,以利减少淬火畸变。欧美国家采用550℃的分级温度。从工具使用寿命角度来说,应该是分级温度越低,寿命越高。
从减少淬火畸变和防止开裂的角度来说,等温淬火更为有利。要进行等温淬火的高速钢工件,应先在分级盐浴中冷却,然后再到贝氏体区域做等温停留。通常是在240℃~260℃等温60~240min。表5列出了等温时间对W18Cr4V高速钢组织和硬度的影响。
▼表5 等温时间对高速钢组织和硬度的影响

由表5可以看出,W18Cr4V高速钢从淬火加热的奥氏体状态在260℃停留60min以上,可以形成大量贝氏体。随着停留时间延长,贝氏体量增加,马氏体量减少,残留奥氏体含量也增加。大量贝氏体形成可以显著提高钢的韧性,但刚的硬度有所下降。
5 回火
高速钢的回火应达到以下三大目的:
1)最佳的二次硬化物析出的硬化效应。
2)残留奥氏体充分分解。
3)彻底消除残留应力。
普通高速钢的回火硬化峰值560℃左右,所以高速钢的回火温度通常选择560℃。回火硬度峰值的位置与回火的保温时间有一定关系。图6为回火保温时间从0.5h增加到100h,回火硬度峰值的变化情况。

▲图5 高速钢回火温度和回火时间与硬度之间的关系
回火温度与回火保温时间的关系可以用回火参量来说明。其表达公式如下:
P=(20+logτ)
式中 P——回火参量
t——回火温度
τ——回火时间
尽管回火温度、回火保温时间可以不同,但只要回火参量相同,回火效果就是相同的。
形状简单的一般高速钢工件可以采用两次回火,形状复杂的大型工件需要三次甚至四次回火。贝氏体等温淬火高速钢由于淬火后残留奥氏体量较多,可以适当增加回火次数。
低、高温回火法,先在320℃~380℃回火一次,然后在560℃回火两次,可以使W18Cr4V和W6Mo5Cr4V2高速钢的硬度增加0.5~2HRC,冲击韧度提高20%~50%,刀具的切削寿命提高40%。这是由于低温回火时有渗碳体型碳化物析出,促进了560℃高温回火时M2C型碳化物大量析出,减少了碳化物沿晶界析出的缘故。同时低温回火时也有部分残留奥氏体转变成了贝氏体。低、高温回火的高速钢比普通回火的高速钢有较高的韧性。
在单件加热或自动线上回火时,可采用580℃X20min或600℃X10min的高温快速回火法。
为了防止回火过程中奥氏体陈化稳定,回火后以应快冷却至室温。形状复杂的工件第一次回火必须缓慢加热,可在400℃进行一次预热均温,或在500℃以下温度入炉,再缓慢升温至回火温度,冷却时也应缓慢,也可以置于铁,桶冷却,以防开裂。
6 高速钢的同步热处理
同步热处理是指高速钢工件在盐浴热处理时,实行淬火加热、冷却、回火各工序采用同样的时间,即以同一节拍进行生产。它可以实现热处理的全过程自动化。大大缩短生产周期,同时也保证了产品质量的一致性和稳定性。生产实践证明,自动化生产的高速钢工具,比普通热处理工具的切削寿命可以提高20%~40%。
实现同步热处理的关键是正确选择回火温度和保温时间,以便和淬火加热的保温时间相匹配,实现同节拍生产。图6提供了W6Mo5Cr4V2和W6Mo5Cr4V2Co5高速钢的高温回火温度与保温时间的关系,可以用于选择回火规范时参考。

▲图6 高速钢高温回火温度与保温时间的关系
a)W6Mo5Cr4V2(1200℃加热淬火)
b)W6Mo5Cr4V2Co5(1235℃加热淬火)
图6中,在Ⅰ区内任何一点的回火温度与回火时间搭配组成的回火规范,均可使高速钢达到正常回火的目的。在Ⅱ区内选择的回火规范会造成过度回火,在Ⅲ区内选择的回火规范会造成回火不足。
7 高温盐浴热处理表面脱碳的检查和温度控制
7.1 盐浴加热表面脱碳的检测
高速钢工具在高温盐浴炉中加热,虽然有对盐浴定期进行脱氧的工艺,但由于加热温度高,脱氧过的盐浴加热工件,其表面也不可避免地要产生脱碳现象,因此将影响高速钢工具的淬火质量。
国外很多国家采用钢箔法测量高温盐浴的脱碳倾向,这比测量盐浴中氧化钡的含量能更直接地反映出工具表面的脱碳情况。具体的方法是:用0.1mm厚、尺寸为70mm×20mm的含碳为1.0%的高碳钢箔,在盐浴的使用温度下加热8min,然后水冷。根据钢箔的脱碳情况可以判断盐浴的脱碳倾向。
用这种方法判断钢箔的脱碳情况有以下三种做法:
(1)弯曲法。
对加热并水冷的钢箔进行弯曲,根据钢箔的弯曲程度,可以判断盐浴的脱碳倾向。根据经验并结合化验分析,可以确定某个弯曲度以上为合格标准。
(2)定碳法。
化验经高温盐浴加热并水冷的钢箔的碳含量,如果含碳量在0.96%以上,
即可确定盐浴状态良好。
(3)仪器法。
由于钢的碳含量不同,其热电势的高低也不同,因此可以利用测量钢箔表面热电势的方法来显示钢的表面碳含量的高低。国外已有专门的仪器——交流器,来测量钢箔的脱碳情况。
图7是这种仪器的原理示意图,主要是利用两个热电对2和3,一个是被加热的电极,另一个是冷的电极,两个电极之间由于温差产生热电势,并且这个电势随钢箔表面的含碳量不同而有规律地变化。

▲图7 交流器示意图
1-机壳 2、3-被加热的、冷的热电对
4-被测钢箔 5-夹持压紧器 6-夹持压紧器外壳
7-交流器的连接线和补偿接头
由于盐浴的脱碳情况不同,因而钢箔的碳含量不同,所以在两个电极之间产生的热电势不同,由此可以检测出试样的脱碳情况。由于事先测量了不同的碳含量钢箔的热电势,因此很容易测出钢箔的脱碳情况。
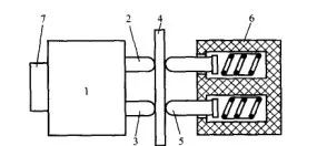
7.2 高温盐浴的温度控制
高温盐浴的温度控制一直是个难题,其难点在于,在1200℃~1300℃的高温下,由于没有合适的耐高温材料作保护管,无法直接用热电偶作为感温元件。长期以来一直采用辐射高温计作为感温元件。
采用辐射高温计作为感温元件的最大缺点是由于辐射高温计固定在盐浴炉的上方,高温盐浴表面有大量的烟雾,影响测量结果的稳定性和准确性;且辐射高温计测量的只是盐浴表面温度,这与盐浴内部加热的工件的实际温度有一定的差值。
有一种插入式辐射高温计可以克服上述缺点。其结构如图8所示。

▲图8 插入式辐射高温计示意图
(1in即1英寸=25.4mm)
它是在辐射高温计的下面,接一个封闭的延长管,并把延长管插入盐浴内部。在工作时,向管内通压缩空气,还可以吹走管顶端的烟雾。这样就测到了盐浴内部的温度,并克服了烟雾对测量准确性的影响。
制作插入式辐射高温计的关键,是插入盐浴内部的那一段管子的材料,它既要耐高温,又要耐急冷急热。一种称为硅线石的陶瓷材料具有这种耐高温又耐急冷急热的性能,插入式辐射高温计顶端的接管,就是用这种材料制造的。
随着对耐高温材料的开发,已经可以制造耐高温的热电偶保护管,可以用高温热电偶直接插入盐浴炉进行测温、控温,因而可以更稳定、更精确地控制高温盐浴炉的温度。虽然国内外都已经有关于在盐浴中试验和使用高温热电偶的报道,但是,热电偶套管的寿命是这项技术能否普遍应用的关键。
8 高速钢工具的真空热处理

高速钢工具在真空炉中进行热处理,畸变小,表面光洁,无氧化脱碳,车间工作环境好,采用微机控制可以减少手工操作,工艺重复性好。工件在真空炉中加热,只能靠辐射传热,加热速度比盐浴炉慢得多,必须采用多段预热,长时间保温。可采用3~4段预热,4段预热的温度可以采用700°C、800°C、1050℃、1150℃。加热系数可以延长到40~60s/mm。在装炉量不太大时,可以采用接近或稍低于盐浴炉加热的淬火加热温度。例如W6Mo5Cr4V2高速钢可以采用1200-1220°C。在装炉量较大时,应注意炉子中心部位的工件被遮挡,形成“阴影”,造成较大的温差,因此应当适当地延长淬火加热的保温时间。
高速钢工具在真空炉加热淬火,现在大都采用高纯氮气冷却(纯度99.999%)。采用氮气冷却随着使用压力的加大,冷却能力也增加。采用常压气体冷却时,冷却速度很小,只适用于很小尺寸或对硬度要求不高的零件。常压气淬工具畸变小,有碳化物自基体中析出,因此硬度和热硬性显著下降。图9表示出了冷却方式对高速钢热硬性的影响。

▲图9 冷却方式对高速钢热硬性的影响
采用0.2MPa的压力进行真空淬火时,高速钢零件尺寸不能太大,否则也会产生硬度和热硬性下降的现象。采用0.5PMa压力淬火时,高速钢工具尺寸可以达到100mm,接近盐浴分级淬火的冷却能力。也有的真空炉不增加或少增加冷却氮气的压力,而是加大气体流量,这样也可以达到理想的冷却效果。
高速钢工模具在真空炉中淬火时,容易产生混晶现象,即晶粒尺寸大小相差悬殊。有时也会因为冷却不足而产生碳化物析出现象。工件表面合金元素脱离现象也是真理淬火容易产生的表面缺陷。
9 粉末高速钢的热处理
9.1 粉末高速钢的特性
粉末高速钢采用熔融的钢液高压雾化制粉。经过筛选、装罐压实、抽真空密封和热等静压等工序制成钢锭,再经过锻造、轧制而成为粉末冶金钢材。
粉末冶金钢因为是由非常细小的的颗粒压制而成,它的碳化物颗粒均匀细小,因此它克服了冶金高速钢碳化物偏析带来的一系列缺点,并诞生了冶炼法不可能制造的新成分高速钢。下面叙述粉末高速钢的一些特点。
9.1.1 改善了材料的力学性能
与冶金法制造的普通高速钢相比,粉末冶金法制造的高速钢力学性能大幅度提高。粉末冶金法制造的M2(W18Cr4V)高速钢力学性能,比普通M2高速钢的韧性提高20%。表6为普通M42、T15和CPMM4高速钢,在相近的化学成分和热处理硬度条件下,力学性能的比较情况。
▼表6 部分粉末冶金高速钢的力学性能

粉末高速钢热处理后的硬度更均匀,组织也更均匀,工具不会因为碳化物堆积或存在大块碳化物而产生刀尖崩刃现象。
9.1.2 改善了材料的工艺性能
首先是改善材料的可磨削性,对大部分粉末高速钢来说,可以比普通高速钢成倍地提高可磨削性。由表6可见,CPMM42、CPMT15、CPMM4三个牌号粉末冶金高速钢的磨削比,分别比普通高速钢的磨削比提高2.8、3.7、2.5倍。
普通高速钢的含V量大于3%时就已经不易磨削,大于5%就几乎不能磨削了。但粉末高速钢T15的含V量为5%,仍然有较好的可磨削性。有的粉末高速钢含V为9%依然可以磨削。
粉末高速钢还克服了普通高速钢的锻造困难、热处理易过热、开裂、畸变等缺点。
9.1.3 可制造出合金元素含量更高的新牌号高速钢
由于不再担心碳化物的偏析问题和磨削及锻造等工艺问题,粉末高速钢的成分有巨大突破。首先是提高了钢的含V量,几乎所有的粉末高速钢的含V量都大于3%,有的含V高达9.8%。同时还提高了刚的含碳量,几乎所有的粉末高速钢都是高碳高速钢,含碳量均>1.2%,有的高达2%。
粉末高速钢的价格比普通高速钢昂贵,一般只有对特殊要求的齿轮刀具和难加工材料刀具才予以采用。
9.2 粉末高速钢的牌号和成分
目前粉末高速钢的生产厂家主要在瑞典、美国、日本、奥地利等国。其生产的粉末高速钢牌号和化学成分如表7所示。
▼表7 粉末高速钢的牌号和化学成分


9.3 粉末高速钢的热处理
各国高速钢根据牌号和化学成分不同都有其相应的热处理规范。以下为一些热处理工艺参数举例。
9.3.1 退火
瑞典对其四种牌号和化学成分的粉末高速钢推荐的退火规范为:850℃~900℃保温后,以≤10℃/h冷却速度,缓冷至700℃出炉。
9.3.2 淬火
从热处理基本原理来说,粉末高速钢与普通高速钢的热处理应该是相同的,其差别在于粉末高速钢的碳化物颗粒均匀细小,更容易溶入基体,因此相同化学成分的粉末高速钢可以可以选择比普通高速钢低的淬火温度,一般可以降低5℃~8℃。同样,由于粉末高速钢的奥氏体更容易均匀化,可以采用较短的保温时间,一般可以比普通高速钢的保温时间缩短1/3 。
各国粉末高速钢根据牌号不同,其热处理规范也不同。瑞典的四种牌号粉末高速钢的淬火温度均设为1160℃~1180℃。美国粉末高速钢CPM Rex42的淬火温度采用1230℃,CPM Rex20采用1190℃。奥地利的粉末高速钢S390PM淬火温度采用1150℃~1240℃。日本的几种牌号高速钢的热处理规范见表8 。
▼表8 日本粉末高速钢的热处理规范

9.3.3 回火
由于粉末高速钢的碳化物均匀细小,奥氏体化更充分回火二次硬化更充分,所以同样的回火规范回火效果更好。粉末高速钢的回火温度和保温时间与普通高速钢大致相同。一般采用两次或三次回火。但也有的牌号粉末高速钢回火温度有所调整。例如,奥地利的S390PM粉末高速钢回火温度为500℃ 。
10 高速钢的深冷处理
高速钢一般使用液氮做深冷处理。其流程如图10所示。

▲图10 液氮深冷处理箱示意图
在深冷处理箱中通常采用较长的保温时间,其程序为:缓冷到-193.9℃,保温10~40h,然后再升温到50℃,最后缓冷到室温。工艺过程由工控机控制自动完成。
采用液氮深冷的工具如钻头、车刀、锉刀、丝锥、拉刀、齿轮滚刀等刀具比没经过深冷的寿命提高2~4倍,高者可达5倍。详见表9 。
▼表9 高速钢深冷处理效果比较

11 高速钢刀具的表面强化
高速钢刀具的表面强化方法很多,蒸汽处理和氧氮共渗是目前国内在商品钻头上应用最多的处理方法。QPQ技术在国外应用较多,效果也很好。它适用于大量廉价的通用刀具。PVD氮化钛涂层是强化效果最好的方法,价格较贵,适用于精密贵重刀具。液体硫氮共渗、点解强化、电火花强化、超声波强化、镀硬铬等方法对自用刀具也有较好的强化效果。激光表面强化和离子注入等新技术也正在一起关注。
11.1 蒸汽处理
蒸汽处理是很老但很实用的方法,至今在国内外在高速钢钻头等工具上依然普遍应用。蒸汽处理是将工件在过热的蒸汽中加热,表面形成1~5μm厚的致密Fe3O4氧化膜。氧化膜不仅使工件有了漂亮的外观,增加了工件表面的防锈能力,它还能储存切削液,减少摩擦,从而延长工具使用寿命。

蒸汽处理温度为540℃~560℃,保温时间60~90min。进气压力0.04MPa-0.05MPa。正常处理时炉膛压力0.03~0.05MPa。处理次数为一次或两次。工件的预清理可以采用化学脱脂法,或采用三氯乙烯气相脱脂。氧化膜的检验方法是用质量分数为10%的CuSO3溶液浸蚀,10min内工件表面不析出铜为合格。
11.2 氧氮化(氧氮共渗)
氧氮化处理是目前国内在高速钢直柄钻头上应用最多的表面强化方法。它是在含氮和含氧的气氛中做氧氮共渗,渗层内部是氮的扩散层,外层为氧化膜。渗氮层有较高的耐磨性,氧化膜起防锈作用,对提高切削性能也有一定好处。机标JB3192对氧氮化的质量和检验方法作了规定。高速钢直柄钻头氧氮化层的深度应为15~45μm表面硬度为900~1150HV,氧化膜的厚度为1~5μm。氧氮化处理可以使直柄钻头的寿命提高50%~100%。

氧氮化处理根据使用原料不同分为很多种,目前国内应用较多的是氨水或者氨气和水蒸气混合法。
11.2.1 氨水汽化法
以质量分数25%的氨水滴入渗氮炉中分解。工件约350℃入炉,以45kw的井式炉为例,滴入量为140~160滴/min,排气30min,升温到540℃~560℃,滴量加大到200滴/min,保温90~120min。出炉后空冷、浸油。这种方法设备投资少,但氨水的浓度不稳定,会引起渗层质量的波动。
11.2.2 氨水+水蒸气混合法
这种方法是,由液氨汽化和锅炉水蒸气混合后,通过加热的炉子使混合气的温度升到250℃以上,然后再通入氧氮共渗炉中。通过控制水氨气和水蒸气的比例,可以控制深层中的氮浓度。通常氨水和水蒸气的比例为1:1,氧氮共渗的温度为540-560℃,保温时间根据装炉量的不同通常为1.5-3h。该法的优点是可以较大范围内调节氮的浓度,缺点是质量不容易控制稳定,管道设备较复杂,设备投资较大。
11.3 QPQ处理

QPQ处理是在盐浴氮碳共渗基础上开发的兼有耐磨和抗蚀双重作用的表面强化技术。由于QPQ处理渗层中的氮的浓度更高,它比一般的氮碳共渗和氧氮化处理有更高的耐磨性,而且具有非常好的抗蚀性。它是目前国外在高速钢工具上应用最多的表面强化方法。
高速钢刀具QPQ处理工艺:

1)去油。大量生产采用金属清洗剂或喷砂,少量生产采用汽油清洗;
2)预热。350-400℃的空气炉中预热15~20min;
3)氮化。530-550℃的盐浴中,保温10~40min;
4)氧化。350-370℃的盐浴中,保温15~20min;
5)空冷一清洗→干燥→浸油
渗氮盐浴中的氰酸根含量的控制非常重要,通常应控制在30%-35%(质量分数)范围内,最佳含量为32%-34%。影响强化效果最大的因素是渗氮的规范,渗氮规范的选择最好以切削试验为准。在某一渗氮温度下,逐渐加长渗氮时间,并作相应的切削试验,直到得到最好的切削寿命。
在渗氮炉中工件表面形成氮的扩散层,其深度为10~45μm硬度可达1200HV以上,但脆性很小。在渗氮炉中不允许形成化合物层,否则刀具的刃口会变脆。工件在氧化炉中处理后,在渗氮层的外面形成了一层厚度为1~3μm的氧化膜,对提高刀具的寿命也有一定好处。
QPQ技术设备投资少,生产成本低,强化效果好,无公害,产品质量稳定。QPQ技术用于钻头、铣刀、铰刀、丝锥、齿轮滚刀和拉刀等刀具,均可提高切削寿命2倍以上。对切削耐热合金和难加工材料效果更佳。
这种方法不仅大幅度提高工具的使用寿命,而且可以大幅度降低工具使用寿命的分散度,提高工具寿命的稳定性。表10是对一盒10支钻头,取5支不作QPQ处理,另外5支作了QPQ处理后的寿命对比数据。
▼表10 QPQ处理对钻头寿命的影响

11.4 硫氮共渗
硫氮共渗也称硫氰共渗。渗层中除碳氮以外还有硫的渗入,硫在工具表面有润滑和减少摩擦的作用。这种工艺通常可以提高刀具寿命1~2倍。
硫碳氮共渗的盐浴含有30%~34%(质量分数)的氰酸根,含氰根0.8%(质量分数)以下,盐浴中加入硫化钾。活性硫的含量控制在(2~5)×10E-6。为提高盐浴的活性,要向盐浴中通空气,通空气的量为每100kg盐浴剂1.53L/min。高速钢工具硫碳氮共渗的温度为560~570°C,时间为10~60min由于硫碳氮共渗的盐浴中含有氰根,因此硫氮共渗处理后,清洗工件的水必须经过消毒处理才能排放。
11.5 物理涂层(PVD)

物理涂层也称气相沉积,在工具上应用的主要是氮化钛涂层。物理涂层的方法一般是在真空中使金属Ti气化,且离子化,与氮离子互相撞击,在电场的作用下,在工件表面形成氮化钛涂层。
作为高速钢工具的物理涂层方法按沉积过程中,金属T熔化,蒸发并离子化形成的原理不同,镀层的主要方法有阴极溅射法、辉光放电离子镀法和弧光放电离子镀法。目前较先进的方法是弧光放电离子镀方法中的多弧离子镀。阴极溅射法生成的镀层组织致密,生产过程容易控制。多弧离子镀沉积速度快,生产效率高,结合强度高,大小件均适合。弧光放电离子镀就是将Ti置于真空中,用弧光放电使其熔化、蒸发,由放电的强弱来控制蒸发量的大小。图11是多弧离子镀的一种装置原理图。冷阴极弧源置于上部及四周,可以在整个真空室内获得大量均布的单原子金属Ti,可以均匀快速地在工件表面形成镀层。

▲图11 多弧离子镀装置原理图
1-阴极电弧源 2-主电弧源 3-反应气进口
4-工件 5-工件偏压电源
PVD涂层法通常是在刀具表面上形成2~5μm的TiN镀层,其硬度在2000HV以上。镀层不宜过厚,否则容易使刀刃脆化。PVD涂层具有很高的耐磨性,一般可以提高工具寿命2~5倍。可以提高切削效率30%左右,由其适用于齿轮滚刀,插齿刀等精密工具。

11.6 激光表面强化
很多国家对高速钢的激光热处理进行了大量实验研究工作。高速钢表面激光强化有激光淬火,激光熔化和激光合金化涂敷等多种方法。
11.6.1 激光淬火
他是利用激光束的高密度能量,使高速钢工具表面快速加热到相变,然后利用工具本身的质量快速冷却,使表面淬硬。快速加热及快速冷却的结果,在工具表面形成高硬度淬火层(1000HV以上)从而提高工具的耐磨性。
工具激光淬火实际上是一种表面硬化,形成的是马氏体与碳化物的混合物淬火层。采用激光淬火的工具通常需要预先进行常规淬火才有较好的效果。
11.6.2 激光熔化
它是利用激光快速加热,使工件表面相当薄的一层组织快速熔化。高速钢快速熔化区的组织为精细孪晶马氏体、残留奥氏体、未熔碳化物和δ铁素体的混合物,回火后析出支晶状的M6C碳化物。激光表面熔化区在高温回火时,在600℃时才能达到硬度峰值,最高硬度可达1299HV。
W6Mo5Cr4V2高速钢车刀采用800W的CO2激光熔化后,与560℃X2h回火后,熔化区域深度0.6~0.8mm,结果是提高了高速钢的硬度和韧性,车刀寿命提高了2~5倍。
11.6.3 激光合金化涂覆
它是在工件表面上图上冶金粉末,利用高能密度激光束使其快速熔化,在工件表面上形成一层合金层,以提高钢的耐磨性和热稳定性。用于激光合金化的常用元素和化合物有C、WC、Co、BC等粉末,再加添加剂、粘结剂、混和后制成饱和涂料。
激光合金化的涂层厚度一般不超过80~100um,最好利用10-40J铷激光器熔化。利用Co(钴)作合金化涂料,激光合金化后Co溶入基体,提高了α→B的转变温度和回火稳定性,回火时形成金属间化合物,并析出MC碳化物,促进弥散硬化,提高了二次硬化作用。表面软化温度比普通高速钢提高了350℃,比激光淬火提高了70-100℃,具可承受675~680℃的高温。
用功率1kW的CO2激光器在W6Mo5Cr4V2高速钢的表面采用W粉末激光合金化,可以形成80-100m的合金层,进行560℃两次回火以后,把合金层磨削到40-50μm,经这样处理的单刃车刀,切削寿命可以提高6倍。
11.6.7 离子注入法
它首先将要注入的元素离子化,并在数千伏的电压下,将离子导入质量分
析器进行筛选,然后在几十千伏到几百千伏的高压下将离子加速到要求的高能状态。最后在处理室内对工件进行扫描,把离子注入到工件的表面。
注入的元素有N、Ti、C、Mo、P、B、Ta、Co等,主要作用是改善材料的耐磨性,抗蚀性和疲劳性能。英国采用离子注入法可使高速钢丝锥的寿命提高12倍。美国对M35、M7、M2等高速钢注入WC、Co,可使高速钢工具寿命提高2~6倍,已经大量用于生产。离子注入法用于M2高速钢的冲头甚至可以提高寿命70~80倍。


