怎么样使用百分表?三分钟的视频教会你如何使用百分表
本站之前发表过:百分表和千分表的使用方法,但是还是不够具体,所以 今天 我们就来看看一个视频, 学习一下百分表的使用。在精密钢管的生产过程和检验过程中经常使用到百分表,有些精度要求高的甚至要用到千分表,为了让大家对这两种表的使用有更深入的了解,今天特整理资料如下,希望对百分表和千分表的使用方法有不明白的地方的人有所帮助。
百分表只能测出相对数值,不能测出绝对的数值,主要应用于检测工件的形状和位置误差等,也可以用于校正零件的安装位置及测量零件的内径等,是一种精度高的比较量具。下小编来介绍一下百分表的使用方法与读数方法。
1、结构
1)百分表的结构

2)杠杆百分表的结构

2. 使用方法及读数
1)百分表的读数
带有测头的测量杆,对刻度圆盘进行平行直线运动,并把直线运动转变为回转运动传送到长针上,此长针会把测杆的运动量显示到圆型表盘上。
长针的一回转等于测杆的1mm,长指针可以读到0.01mm。刻度盘上的转数指针,以长针的一回旋(1mm)为一个刻度。

A、盘式指示器的指针随量轴的移动而改变,因此测定只需读指针所指的刻度,右图为测量段的高度例图,首先将测头端子接触到下段,把指针调到“0”位置,然后把测头调到上段,读指针所指示的刻度即可。
B、一个刻度是0.01mm,若长针指到10,台阶高差是0.1mm
C、量物若是4mm或5mm,长针会不断地回转时,最好看短针所指的刻度,然后加上长指针所指的刻度。

2)百分表的使用方法
A、测量面和测杆要垂直。
B、使用规定的支架。
C、测头要轻轻地接触测量物或方块规。
D、测量圆柱形产品时,测杆轴线与产品直径方向一致。

3)杠杆百分表的读数及使用方法
A、杠杆百分表的分度值为0.01mm,测量范围不大于1mm,它的表盘是对称刻度的。
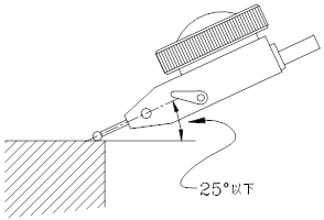
B、测量面和测头,使用时须在水平状态,在特殊情况下,也应该在258以下。
C、使用前,应检查球形测头,如果球形测头已被磨出平面,不应再继续使用。
D、杠杆百分表测杆能在正反方向上进行工作。根据测量方向的要求,应把换向器30搬到需要的位置上。
E、搬运测杆,可使测杆相对杠杆百分表壳体转动一个角度。根据测量需要,应搬运测杆,使测量杆的轴线与被测零件尺寸变化方向垂直。


好了,让我们一起来看看这个 百分表的教学视频!


