中华人民共和国国家标准
冷拔异型钢管
Cold drawn shaped steel tubes
GB/T 3094-2012
发布部门:中华人民共和国国家质量监督检验检疫总局
中国国家标准化管理委员会
发布日期:2012年05月11日
实施日期:2013年02月01日
前 言
本标准按照GB/T 1.1-2009给出的规则起草。
本标准参照ASTM A 500-07《圆形与异型冷成形焊接与无缝碳素钢结构管》修订。
本标准代替GB/T 3094-2000《冷拔无缝异型钢管》。本标准与GB/T 3094-2000相比,主要变化如下:
——增加了Q215、Q235、Q345、Q390钢牌号的质量等级,删除了Q295牌号;
——增加了订货内容;
——修改了弯曲度和扭转值要求;
——删除了标记示例;
——修改了通常长度;
——修改了钢管的力学性能;
——增加了钢管冲击试验要求;
——修改了附录A中钢管的规格尺寸。
本标准由中国钢铁工业协会提出。
本标准由全国钢标准化技术委员会(SAC/TC 183)归口。
本标准起草单位:上海异型钢管有限公司、江苏界达特异新材料股份有限公司。
本标准主要起草人:高志建、陈红旗、朱速建、薛建良、王炜、胡宏伟、杨雯懿、雷亮亮。
本标准所代替标准的历次版本发布情况为:
——GB 3094-1982;
——GB/T 3094-2000。
1 范围
本标准规定了冷拔异型钢管的分类、代号、订货内容、外形、尺寸、技术要求、试验方法、检验规则、包装、标志和质量证明书。
本标准适用于冷拔成形的简单断面异型钢管(简称钢管)
2 规范性引用文件
下列文件对于本文件的应用是必不可少的。凡是注日期的引用文件,仅注日期的版本适用于本文件。凡是不注日期的引用文件,其最新版本(包括所有的修改单)适用于本文件。
GB/T 222 钢的成品化学成分允许偏差
GB/T 223.5 钢铁 酸溶硅和全硅含量的测定 还原型硅钼酸盐分光光度法
GB/T 223.9 钢铁及合金 铝含量的测定 铬天青S分光光度法
GB/T 223.12 钢铁及合金化学分析方法 碳酸钠分离-二苯碳酰二肼光度法测定铬量
GB/T 223.14 钢铁及合金化学分析方法 钽试剂萃取光度法测定钒含量
GB/T 223.17 钢铁及合金化学分析方法 二安替比林甲烷光度法测定钛量
GB/T 223.19 钢铁及合金化学分析方法 新亚铜灵-三氯甲烷萃取光度法测定铜量
GB/T 223.23 钢铁及合金 镍含量的测定 丁二酮肟分光光度法
GB/T 223.40 钢铁及合金 铌含量的测定 氯磺酚S分光光度法
GB/T 223.59 钢铁及合金 磷含量的测定 铋磷钼蓝分光光度法和锑磷钼蓝分光光度法
GB/T 223.60 钢铁及合金化学分析方法 高氯酸脱水重量法测定硅含量
GB/T 223.62 钢铁及合金化学分析方法 乙酸丁酯萃取光度法测定磷量
GB/T 223.63 钢铁及合金化学分析方法 高碘酸钠(钾)光度法测定锰量
GB/T 223.64 钢铁及合金 锰含量的测定 火焰原子吸收光谱法
GB/T 223.68 钢铁及合金化学分析方法 管式炉内燃烧后碘酸钾滴定法测定硫含量
GB/T 223.69 钢铁及合金 碳含量的测定 管式炉内燃烧后气体容量法
GB/T 223.71 钢铁及合金化学分析方法 管式炉内燃烧后重量法测定碳含量
GB/T 223.72 钢铁及合金 硫含量的测定 重量法
GB/T 228.1 金属材料 拉伸试验 第1部分:室温试验方法
GB/T 229 金属材料 夏比摆锤冲击试验方法
GB/T 699 优质碳素结构钢
GB/T 700 碳素结构钢
GB/T 1591 低合金高强度结构钢
GB/T 2102 钢管的验收、包装、标志和质量证明书
GB/T 2975 钢及钢产品 力学性能试验取样位置及试样制备
GB/T 3077 合金结构钢
GB/T 4336 碳素钢和中低合金钢 火花源原子发射光谱分析方法(常规法)
GB/T 20066 钢和铁 化学成分测定用试样的取样和制样方法
GB/T 20123 钢铁 总碳硫含量的测定 高频感应炉燃烧后红外吸收法(常规方法)
GB/T 20125 低合金钢 多元素的测定 电感耦合等离子体发射光谱法
3 分类和代号
钢管按截面形状分类和代号如下:
a) 方形钢管 D-1;
b) 矩形钢管 D-2;
c) 椭圆形钢管 D-3;
d) 平椭圆形钢管 D-4;
e) 内外六角形钢管 D-5;
f) 直角梯形钢管 D-6。
4 订货内容
按本标准订购钢管的合同或订单应包括但不限于下列内容:
a) 标准编号;
b) 产品名称:
c) 钢的牌号及质量等级(若适用);
d) 尺寸规格;
e) 订购数量(总重量或总长度);
f) 交货状态;
g) 特殊要求。
5 外形、尺寸及重量
5.1 外形和尺寸
钢管的外形和尺寸应分别符合附录A中图A.1~图A.6和表A.1~表A.6的规定。经供需双方协商,可供应图A.1~图A.6和/或表A.1~表A.6以外形状和/或规格的钢管。
5.2 钢管的尺寸允许偏差
钢管的尺寸允许偏差应符合表1的规定。
当需方未在合同中注明钢管尺寸允许偏差级别时,钢管的尺寸允许偏差应符合普通级尺寸精度的规定。当需方要求高级尺寸精度时,应在合同中注明。
根据需方要求,经供需双方协商,可供应表1规定以外尺寸允许偏差的钢管。
表1 钢管的尺寸允许偏差 单位为毫米

5.3 边凹凸度
钢管的边凹凸度应符合表2的规定。
当需方未在合同中注明钢管边凹凸度级别时,钢管的边凹凸度应符合普通级精度的规定。当需方要求边凹凸度高级精度时,应在合同中注明。
表2 钢管的边凹凸度 单位为毫米
| 边长尺寸 | 边凹凸度(不大于) | |
| 普通级 | 高级 | |
| ≤30 | 0.20 | 0.10 |
| >30~50 | 0.30 | 0.15 |
| >50~75 | 0.8%A、0.8%B | 0.5%A、0.5%B |
| >75 | 0.9%A、0.9%B | 0.6%A、0.6%B |
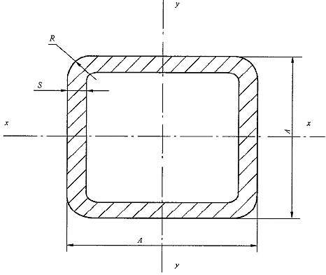
5.4 外圆角半径
钢管端面的外圆角半径(R)应符合表3的规定。
表3 钢管的外圆角半径 单位为毫米
| 壁厚(S) | S≤6 | 6<S≤10 | S>10 |
| 外圆角半径(R) | ≤2.0S | ≤2.5S | ≤3.0S |
5.5 弯曲度
钢管的弯曲度应符合表4的规定。
当需方未在合同中注明钢管弯曲度等级时,钢管的弯曲度应符合普通级精度的规定。当需方要求高级精度时,应在合同中注明。
表4 钢管的弯曲度
| 精度等级 | 弯曲度/(mm/m) | 全长(L)弯曲度 |
| 普通级 | ≤3.0 | ≤0.3%L |
| 高级 | ≤2.0 | ≤0.2%L |
5.6 扭转值
钢管不允许有明显扭转。方形钢管、矩形钢管和直角梯形钢管的扭转值应符合表5的规定。
根据需方要求,经供需双方协商,并在合同中注明,可供应表5规定以外扭转值的钢管。
表5 钢管的扭转值
| 钢管边长/mm | 允许扭转值/(mm/m) |
| ≤30 | ≤1.5 |
| >30~75 | ≤2.0 |
| >75 | ≤2.5 |
5.7 长度
5.7.1 通常长度
钢管的通常长度为2000mm~9000mm。
根据需方要求,经供需双方协商,并在合同中注明,可供应规定以外长度的钢管。
5.7.2 定尺长度和倍尺长度
5.7.2.1 根据需方要求,经供需双方协商,并在合同中注明,钢管可按定尺长度或倍尺长度交货。
5.7.2.2 定尺长度和倍尺长度应在通常长度范围内。定尺长度允许偏差为
mm;倍尺总长度允许偏差为
mm,每个倍尺长度应留5mm~10mm的切口余量。
5.8 端头外形
钢管的两端端面应与钢管轴线垂直,切口毛刺应予清除。
5.9 重量
钢管按实际重量交货。合同中注明,亦可按理论重量交货,理论重量的计算公式参照附录A(钢的密度取7.85kg/dm3)。
6 技术要求
6.1 钢的牌号和化学成分
6.1.1 优质碳素结构钢的牌号为10、20、35和45,其化学成分(熔炼分析)应符合GB/T 699的规定。
碳素结构钢的牌号为Q195、Q215和Q235,其化学成分(熔炼分析)应符合GB/T 700的规定。
低合金高强度结构钢的牌号为Q345和Q390,其化学成分(熔炼分析)应符合GB/T 1591的规定。
根据需方要求,经供需双方协商,可供应合金结构钢钢管,其牌号和化学成分(熔炼分析)应符合GB/T 3077的规定。
6.1.2 当需方要求进行成品化学分析时,应在合同中注明。成品钢管的化学成分允许偏差应符合GB/T 222的规定。
6.1.3 根据需方要求,经供需双方协商,可供应其他牌号的钢管。
6.2 制造方法
6.2.1 钢管应采用无缝钢管经冷拔成形方法制造。
6.2.2 根据需方要求,经供需双方协商,并在合同中注明,钢管可采用焊接钢管经冷拔成形方法制造。冷拔焊接钢管的焊缝应避开圆角处。
6.3 交货状态
钢管应以冷拔状态交货。根据需方要求,经供需双方协商,并在合同中注明,钢管可以热处理状态交货。
6.4 力学性能
6.4.1 冷拔状态交货的钢管,不作力学性能试验。当钢管以热处理状态交货时,钢管的纵向力学性能应符合表6的规定;合金结构钢钢管的纵向力学性能应符合GB/T 3077的规定。
6.4.2 以热处理状态交货的Q195、Q215、Q235、Q345和Q390钢管,当周长不小于240mm且壁厚不小于10mm时,应进行冲击试验,其夏比V型缺口冲击吸收能量(KV2)应符合表6的规定。冲击试样宽度应为10mm、7.5mm或5mm中尽可能的较大尺寸;如无法截取宽度为5mm的试样时,可不进行冲击试验。
表6中的冲击吸收能量为标准尺寸试样夏比V型缺口冲击吸收能量要求值,当采用小尺寸冲击试样时,小尺寸试样的夏比V型缺口冲击吸收能量要求值应为标准尺寸试样冲击吸收能量要求值乘以表7中的递减系数。
6.4.3 周长不小于240mm且壁厚不小于10mm的合金结构钢钢管,其标准试样冲击吸收能量应符合GB/T 3077的规定。
6.4.4 冷拔焊接钢管的力学性能试验取样位置应位于母材区域。
表6 钢管的力学性能

表7 小尺寸试样冲击吸收能量递减系数
| 试样规格 | 试样尺寸(高度×宽度)/(mm×mm) | 递减系数 |
| 标准试样 | 10×10 | 1.00 |
| 小试样 | 10×7.5 | 0.75 |
| 小试样 | 10×5 | 0.50 |
6.5 表面质量
6.5.1 钢管的内外表面不允许有裂纹、折叠、结疤、轧折和离层。这些缺陷应完全清除,清除深度应不超过公称壁厚的负偏差,清除处的实际壁厚应不小于壁厚偏差所允许的最小值。
6.5.2 不超过壁厚负偏差的其他局部缺陷允许存在。
6.5.3 冷加工状态交货钢管的内外表面,允许存在制造过程中的磷酸盐和润滑剂附着层。根据需方要求,经供需双方协商,并在合同中注明,供方可对磷酸盐和润滑剂附着层予以去除。
6.5.4 冷拔焊接钢管不允许有搭焊、过烧存在。钢管焊缝的外毛刺应清除,剩余高度应不大于0.5mm;钢管焊缝的内毛刺允许存在。根据需方要求,经供需双方协商,并在合同中注明,可对内毛刺做特殊规定。
7 试验方法
7.1 钢管的尺寸和外形应采用符合精度要求的量具逐根测量。扭转值的测量方法应符合附录B的规定。
边长、边凹凸度和扭转值的测量位置应在距钢管两端至少为最大边长(且不小于50mm)的位置;壁厚应在钢管角部圆弧外的平面位置测量。
7.2 钢管的内外表面应在充分照明条件下逐根目视检查。
7.3 钢管其他检验项目的取样方法和试验方法应符合表8的规定。
表8 钢管的检验项目、取样数量、取样方法、试验方法
| 序号 | 检验项目 | 取样数量 | 取样方法 | 试验方法 |
| 1 | 化学成分 | 每炉取1个试样 | GB/T 20066 | GB/T 223、GB/T 4336 GB/T 20123、GB/T 20125 |
| 2 | 拉伸试验 | 每批在两根钢管上各取1个试样 | GB/T 2975 | GB/T 228.1 |
| 3 | 冲击试验 | 每批在两根钢管上各取1组3个试样 | GB/T 2975 | GB/T 229 |
8 检验规则
8.1 检查和验收
钢管的检查和验收由供方质量技术监督部门进行。
8.2 组批规则
8.2.1 钢管按批进行检查和验收。
8.2.2 每批应由同一牌号、同一炉号、同一规格和同一热处理制度或炉次(若适用)的钢管组成。每批钢管的数量应不超过如下规定:
a) 周长≤240mm:400根;
b) 周长>240mm:200根。
8.3 取样数量
每批钢管各项检验的取样数量应符合表8的规定。
8.4 复验与判定规则
钢管的复验与判定规则应符合GB/T 2102的规定。
9 包装、标志和质量证明书
钢管的包装和质量证明书应符合GB/T 2102的规定。冷拔焊接钢管的标志内容应包括焊接标识,钢管标志的其他要求应符合GB/T 2102的规定。
附 录 A
(规范性附录)
钢管的外形和尺寸
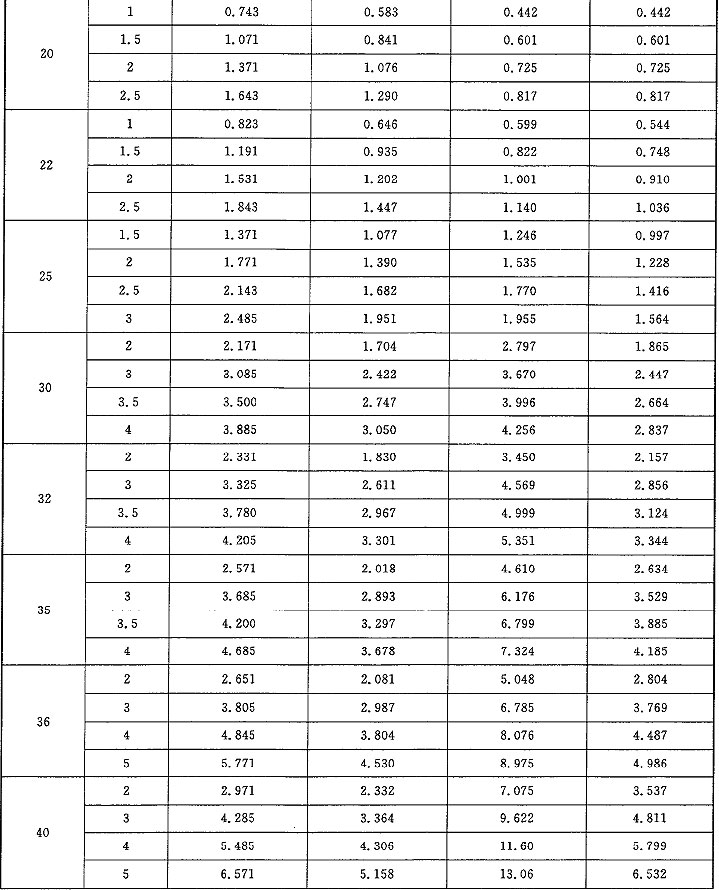
A.1 图A.1~图A.6和表A.1~表A.6为钢管的外形和尺寸。表A.1~表A.6中所列钢管的理论重量和物理参数供参考。

图A.1 方形钢管(D-1)
表A.1 方形钢管的尺寸、理论重量和物理参数






图A.2 矩形钢管(D-2)
表A.2 矩形钢管的尺寸、理论重量和物理参数






图A.3 椭圆形钢管(D-3)
表A.3 椭圆形钢管的尺寸、理论重量和物理参数


图A.4 平椭圆形钢管(D-4)
表A.4 平椭圆形钢管的尺寸、理论重量和物理参数


图A.5 内外六角形钢管(D-5)
表A.5 内外六角形钢管的尺寸、理论重量和物理参数


图A.6 直角梯形钢管(D-6)
表A.6 直角梯形钢管的尺寸、理论重量和物理参数

附 录 B
(规范性附录)
异型钢管扭转值测定方法
B.1 扭转值
由于制造原因钢管绕其纵轴旋转成螺旋状时产生的扭转角,其每单位长度所相对应的最大值称为扭转值,单位为毫米每米(mm/m)。
B.2 测量原理
如果该钢管出现扭转,在单位长度内,其侧面必产生一端点偏离其另三端点所构成的平面,此偏离距离为扭转值。
B.3 测定方法
取两块边长大于被测钢管边长的钢板,在标准平板上,使其平行间距为1m并固定,作为测量钢管扭转值的简单量具。测量时,将量具覆于被测钢管表面(量具方向与钢管方向一致),使量具一端紧贴钢管平面,若有扭转,量具另一端必与钢管平面构成一夹角,用塞尺测量此夹角的最大距离H(计算公式见式(B.1)),此值即为该钢管的扭转值(测定示意图见图B.1)。

图B.1 钢管扭转值测定示意图
H=sinα(A-2R) ...................(B.1)
式中:
H——扭转值,单位为毫米每米(mm/m);
α——每米扭转角,单位为度(°);
A——钢管边长,单位为毫米(mm);
R——钢管角部半径,单位为毫米(mm)。
标准文件:
GB/T-3094-1982 冷拔异型钢管 标准文件下载
GB/T-3094-2000 冷拔异型钢管 标准文件下载
GB/T-3094-2012 冷拔异型钢管 标准文件下载
下载方式: 关注微信公众号 steeltuber 后回复: 3094 公众号会自动回复下载的网盘链接。


