精密钢管内径百分表的使用方法及工作原理
精密钢管内径百分表介绍及工作原理
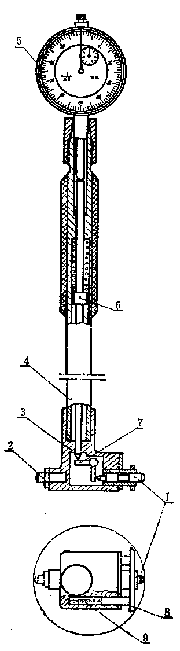
内径百分表是内量杠杆式测量架和百分表的组合,如图1-1所示。用以测量或检验零件的内孔、深孔直径及其形状精度。内径百分表测量架的内部结构,由图1-1可见。 在三通管3的一端装着活动测量头1,另一端装着可换测量头2,垂直管口一端,通过连杆4装有百分表5。 活动测头1的移动,使传动杠杆7回转,通过活动杆6, 推动百分表的测量杆,使百分表指针产生回转。 由于杠杆7的两侧触点是等距离的,当活动测头移动1mm时,活动杆也移动1mm, 推动百分表指针回转一圈。 所以,活动测头的移动量,可以在百分表上读出来。两触点量具在测量内径时,不容易找正孔的直径方向,定心护桥8和弹簧9就起了一个帮助找正直径位置的作用,使内径百分表的两个测量头正好在内孔直径的两端。 活动测头的测量压力由活动杆6上的弹簧控制,保证测量压力一致。内径百分表活动测头的移动量,小尺寸的只有0~1mm,大尺寸的可有0~3mm,它的测量范围是由更换或调整可换测头的长度来达到的。因此,每个内径百分表都附有成套的可换测头。 国产内径百分表的读数值为0.01mm,测量范围有 10~18;18~35;35~50;50~100;100~160mm;160~250;250~450。 用内径百分表测量内径是一种比较量法,测量前应根据被测孔径的大小,在专用的环规或百分尺上调整好尺寸后才能使用。 调整内径百分尺的尺寸时,选用可换测头的长度及其伸出的距离 (大尺寸内径百分表的可换测头,是用螺纹旋上去的,故可调整伸出的距离,小尺寸的不能调整 ),应使被测尺寸在活动测头总移动量的中间位置。 内径百分表的示值误差比较大,如测量范围为35~50mm的,示值误差为±0.015mm。为此,使用时应当经常的在专用环规或百分尺上校对尺寸(习惯上称校对零位),必要时可在如图4-3所示的由块规附件装夹好的块规组上校对零位,并增加测量次数,以便提高测量精度。 内径百分表的指针摆动读数,刻度盘上每一格为0.01mm,盘上刻有100格,即指针每转一圈为1mm。 | ![]() |
二 内径百分表的使用方法
内径百分表用来测量圆柱孔,它附有成套的可调测量头,使用前必须先进行组合和校对零位。组合时,将百分表装入连杆内,使小指针指在0~1 的位置上,长针和连杆轴线重合,刻度盘上的字应垂直向下,以便于测量时观察,装好后应予紧固。
粗加工时,最好先用游标卡尺或内卡钳测量。因内径百分表同其它精密量具一样属贵重仪器,其好坏与精确直接影响到工件的加工精度和其使用寿命。粗加工时工件加工表面粗糙不平而测量不准确,也使测头易磨损。因此,须加以爱护和保养,精加工时再进行测量。
|
|
图1-2 用外径百分尺调整尺寸
测量前应根据被测孔径大小用外径百分尺调整好尺寸后才能使用,如图1-2所示。在调整尺寸时,正确选用可换测头的长度及其伸出距离,应使被测尺寸在活动测头总移动量的中间位置。
测量时,连杆中心线应与工件中心线平行,不得歪斜,同时应在圆周上多测几个点,找出孔径的实际尺寸,看是否在公差范围以内。图1-3所示。
|
|
|
图1-3 内径百分表的使用方法
| |








