什么是“磨损试验”都做哪些项目?
由于摩擦导致的磨损是机械零件失效的主要形式之一。据统计,工程实际中约有一半左右的零件是磨损失效。摩擦磨损程度大小与金属材料的化学成分、组织状态及力学性能等有密切关系。利用热处理,特别是化学热处理,可以大幅度提高材料的耐磨性。 按照运动状态,摩擦分为静摩擦,动摩擦。动摩擦又分为滑动摩擦和滚动摩擦。根据润滑状态可以分为干摩擦、液体摩擦、边界摩擦及混合摩擦等。 材料的磨损是在摩擦力作用下,其表面形状、尺寸发生损伤,组织与性能发生变化的过程,通常磨损量随摩擦进行,分为三个阶段,如图 1 所示 。

▲图1 磨损曲线
摩擦开始时,表面有一定的粗糙度,真实接触面积较小,故磨损率极大,随着表面被磨平,真实接触面积增大,磨损速率减慢。
经过磨合,接触表面进一步平滑,磨损稳定,磨损量很小、磨损速率不变,这是机件正常工作时期。 随着时间或行程增加,接触表面之间的间隙逐渐增大,磨损速率急剧上升,精度丧失,最后导致机件失效。
材料的耐磨性除与其自身特有关外,还与材料的服役或试验条件有关,例如介质种类、润滑条件及温度高低等。因此材料的磨损是十分复杂的问题,许多问题至今还不清楚,甚至对磨损的分类仍不统一。现将被多数承认的常用分类方法,经磨损分为五类,分述如下。
按照磨损机理,将磨损分为:磨料磨损、粘着磨损、接触磨损、腐蚀磨损及微动磨损等。 在这些磨损形式中,磨料磨损最普遍,约占磨损事例的50%,其次是粘着磨损约占15%,微动磨损是复合磨损。
▼表1 各类磨损失效特征

磨损常常是多种形式同时发生,并非单一类型,并且在运转过程中磨损类型还可能发生转化。图2 所示,为在压力一定时滑动速度与磨损量的关系。当滑动速度很低时,摩擦在表面氧化膜间进行,此时产生的磨损为氧化磨损,磨损量小。随着速度增大氧化膜破裂,便转化为粘着磨损,磨损量也随之增大;滑动速度再增加,因摩擦热增大而使表面温度升高,使氧化过程加快,出现了黑色氧化铁粉末,从而又转变为氧化磨损,其磨损量又变小。如滑动速度再继续增大,将再次转化为粘着磨损,磨损剧烈,导致零件失效。

▲图2 压力一定时滑动速度与磨损量的关系
因此,在实际工作中,应努力找出磨损的主导形式,再采取措施,提高机件的耐磨性。 一对摩擦副之间存在有硬质颗粒时,零件表面产生擦伤,称之为磨料磨损。例如矿山机械、农业机械、工程机械、建筑机械等零部件常与泥沙、矿石、渣滓等接触,发生的磨损大都是磨料磨损。这些硬质颗粒像无数把微小的切削刀具在金属表面上切削,导致表面损伤。 影响磨料磨损的因素一是材料自身的特性,二是零件服役环境或者说是试验条件。 硬度越高,耐磨性越好。图3 为一些纯金属和工具钢的硬度与相对耐磨性 ε 的关系。相对耐磨性 ε可用下式表示:

▲图3 一些纯金属和工具钢的硬度与相对耐磨性的关系
钢中含碳量越高,硬度也越高,耐磨性就越好。以固溶状态存在的合金元素对耐磨性作用不大,形成碳化物时能显著提高耐磨性。
钢中组织对磨料磨损影响显著,依铁素体、珠光体、贝氏体、马氏体顺序递增。而片状珠光体又优于球状珠光体。在相同硬度下,等温淬火得到的组织的耐磨性又比回火马氏体要好。钢中残留奥氏体也影响磨损抗力,在低应力磨损条件下且残留奥氏体较多时,将降低耐磨性。在较高应力条件下,残留奥氏体因加工硬化表现显著,从而提高耐磨性。用Al2O3 做磨料时,钢中不同组织与磨料磨损关系见表2 。
▼表2 钢中不同组织与磨料磨损关系

试验还表明,对低应力磨料磨损,淬火马氏体耐磨性与含碳量有关系。图4 所示 为马氏体中含碳量对耐磨性的影响。图中可看出,当含碳量低于1%时,随马氏体中含碳量的增加,耐磨性增加,含碳量高于1%时,随马氏体中含碳量的增加,耐磨性降低。

▲图4 马氏体中含碳量对耐磨性的影响
a)用Al2O3做磨料 b)用SiO2做磨料
65Г=65Mn 60C2=60Si2Mn
9XC=9CrSi ШX15=GCr15
8X3=8Cr3
钢中碳化物对耐磨性显著影响。在软基体上(例如铁素体)存在碳化物,可显著提高耐磨性;但在硬基体中(例如马氏体)碳化物象缺口一样,对提高耐磨性不但无益,反而有害。因此,只有碳化物硬度比基体硬度高得多时,才能提高耐磨性。
图5 为加工硬化对低应力磨损试验时耐磨性的影响。可以看出,因塑性变形而加工硬化的材料虽然提高了材料的硬度值,但却并没有使耐磨性增加。所以在低应力磨损时,并不能依靠加工硬化来提高表面耐磨性。如果是在高应力冲击加载的条件下,表面会因加工硬化而使硬度升高,其耐磨性也随之增加。高锰钢的耐磨性就是就属于这种情况。

▲图5 加工硬化对低应力磨损试验时耐磨性的影响
这种钢经过水韧处理后,为比较软的奥氏体组织,在低应力磨合场合它的耐磨性不好;而在高应力带冲击场合,它具有特别高的耐磨性。这是由于奥氏体的加工硬化率很高,同时还伴有诱发马氏体转变的原因。高锰钢用作碎石机的锤头、颚板可呈现很好的耐磨性,而用作拖拉机的履带板或犁铧时却并不耐磨,其原因就两种情况下的应力不同所致。履带板和犁铧受的都是低应力。 磨料硬度越高,钢的磨损率就越大;当磨料硬度超过一定值后,钢的磨损量大小与磨料硬度就无关了。 磨料尺寸及形状与钢的磨损也有关系,尺寸越大,磨损越大;当磨料尺寸达到一定值后磨损反而减慢。 一对摩擦副在摩擦力作用下,接触面的表面会发生塑性变形,表面的氧化膜被破坏,露出新鲜金属表面,由于分子力的作用使两个表面粘结(或焊合)起来。当外力小于这个粘结力时,摩擦副的相对运动被迫停止,便发生“咬死”现象。当外力大于粘结力时,结合处被切断,如果切断是在两个接触面之间,则不发生磨损;如果发生在强度低的一侧时,强度较高的一侧上粘有对侧的较软金属,称之为金属转移现象。这些粘附金属在反复滑动过程中可能由金属表面上脱落下来成为磨屑。
K 实际上反映了配对材料粘着力的大小。试验测出各种材料的 K 值范围很大,但对于每对材料有一特定值。如: 粘着磨损量的表达式表示的磨损量与接触压力的关系只适合在有限载荷范围内,如图6所示。当摩擦面压力低于布氏硬度值1/3时,K 值保持不变,压力超出1/3布氏硬度值时,K值将急剧增长,就会发生严重的磨损或“咬死”(材料的1/3布氏硬度,相当于材料的抗拉强度σb),上式所示的关系不复存在。

▲图6 不同硬度钢,粘着磨损系数与摩擦面承受压力的关系
互溶性好,粘着倾向大,磨损大。同种材料互溶性好,所以磨损大。元素周期表中位置靠近的元素互溶性好,较远的互溶性差,例如Cu、Ni可以形成完全互溶合金,它们之间的粘着磨损倾向大。
4)硬度
为使零件表面有良好的的润滑能力,零件表面应稍软些,次表面、再里层应有一缓慢过渡区。亚表层的硬度起支撑作用。
5)实验环境或零件工作环境
在易氧化环境中,由于氧化膜的存在,防止了金属纯净表面的直接接触,从而避免或减轻了粘着现象的发生。在高真空环境下,由于不会发生氧化,在润滑难以保证时,易发生粘着现象。
在磨损过程中,金属与介质同时发生化学或电化学反应,使零件表面发生尺寸和重量损失的现象称为腐蚀磨损。氧化磨损是腐蚀磨损中最典型、最多见的一种磨损类型。 一般机械零件都是在含氧环境中工作的,表面形成一层氧化膜。当摩擦副相对运动时,氧化膜被刮伤或被压碎会露出新鲜金属,随后又会形成一层新的氧化膜,再被刮伤压碎,这种现象成为“氧化磨损”。氧化物夹在磨损表面之间,可能起磨料作用,露出的金属表面可能被粘着,因而氧化磨损可能导致粘着磨损和磨料磨损。不发展成粘着磨损和磨料磨损的氧化磨损是最轻微的磨损。 氧化磨损与金属零件表层塑性变形抗力、滑动速度、接触应力、介质含氧量、氧化膜的硬度、润滑条件等因素有关。提高表层塑性变形抗力是提高材料氧化磨损的主要措施。图7、图8 分别为常用结构钢和工具钢磨损量与硬度的关系(压力1.47MPa,滑动速度1.56m/s)

▲图7 结构钢氧化磨损量与硬度关系
①18CrMnTi渗碳 ②12CrNi3A渗碳
③18CrNiWA渗碳 ④20CrA渗碳
⑤T8淬火 ⑥40Cr淬火
⑦45钢淬火 ⑧18CrNiWA调质
⑨30CrMnSi调质 ⑩40CrNiMoA调质
⑪37CrNi3调质 ⑫30CrMnSi调质
⑬45钢正火

▲图8 工具钢氧化磨损量与硬度关系

齿轮、凸轮副、滚动轴承、钢轨与轮箍、凿岩机活塞与钎尾的打击端部等,它们的接触面在滚动或滚动与滑动复合摩擦时,接触应力反复作用下引起的表面破坏现象称为“接触疲劳”。零件产生接触疲劳时,接触表面上产生许多针孔或痘状凹坑,称之为“麻点”或“点蚀”,有的凹坑很深,呈贝壳状。在刚开始出现少数麻点时仍可继续工作;随着时间延长,麻点剥落将不断增多和扩大,磨损加剧,将发生较大附加冲击力,噪声增大,甚至使零件折断,这就是接触疲劳现象。 轴承钢中的非金属夹杂物有塑性的、脆性的和不变形(球状)的三种。其中塑性夹杂物对接触疲劳寿命的影响较小,球状夹杂物(即硅酸盐和铁锰酸盐)次之,危害最大的是脆性夹杂物(Al2O3、氮化物、硅酸盐和碳化物等)。因为它们无塑性、与基体间的弹性模量不同,容易在夹杂物和基体交界处引起高度应力集中,二者的膨胀系数差别对应力集中影响很大,从而成为影响疲劳寿命的重要因素。氧化物等夹杂膨胀系数小于基体,使金属界面产生残留拉应力,使得疲劳强度降低;硫化物膨胀系数大于基体,使金属界面产生残留压应力,不仅不降低疲劳强度反而有利于疲劳寿命。硫化物的有利作用还有可能是将氧化物包住,形成共生夹杂物。因此图9 所示为硅酸盐、氧化铝和硫化物对接触疲劳寿命的影响。

▲图9 轴承钢中氧化铝、硅酸盐和硫化物夹杂对接触疲劳寿命的影响
a)氧化铝+硅酸盐 b)硫化物
2)马氏体含碳量
对轴承钢研究表明,在剩余碳化物相同的条件下,马氏体含碳量(w%)在0.4%~0.45%左右时,接触疲劳寿命最高,出现峰值 。见图10 。

▲图10 马氏体中含碳量与接触疲劳寿命的关系
研究表明,轴承钢中的剩余碳化物颗粒细小的比颗粒粗大的接触疲劳寿命高。此外,碳化物分布要均匀、形状要圆。如果不是为了提高耐磨性,最好不要有剩余碳化物,因为试验观测到的裂纹都是在碳化物和马氏体界面上传播的,至少也要使剩余碳化物数量调整到6%以下,否则对接触疲劳没有好处。 在中低硬度范围内,零件的表面硬度越高,接触疲劳抗力越大,但在高硬度范围内,则无这样的关系。对一般静态接触轴承,最佳接触疲劳寿命的对应硬度为HRC62;对含有冲击性质载荷的接触疲劳,最佳对应硬度可略低到HRC58-60范围。 配对件之间还要注意适当的硬度差,如齿轮啮合中,小齿轮比大齿轮硬度高出HBW25-50为宜。
微动磨损是一种典型的复合磨损,一般是由粘着磨损、磨料磨损和氧化磨损等过程结合在一起,有时候还和接触疲劳相联系;它是在一对摩擦副之间由于1mm以下的小振幅相对振动而产生的磨损。如果磨损过程中两个表面之间是化学反应起主要作用时,可称之为微动腐蚀磨损。例如轴径与滚动轴承内圈,涡轮叶片的榫轮与盘的榫槽,以及螺母、螺栓与紧固的连接件结合面等,都可能出现微动磨损。 微动磨损主要特征是摩擦面上存在大量磨损产物——磨屑。这些磨屑由大量氧化物组成,对铁基材料来说,是出现红褐色粉末氧化铁(α-Fe2O3)。这些磨屑往往不易排出,留在接触区周围。 图11所示 为微动磨损对疲劳强度的影响。该图表明微动磨损不仅降低疲劳强度的30%~40%,而且使应力-循环次数曲线上不存在极限值。

▲图11 微动磨损对疲劳强度的影响
注:试样成分(w)C0.25% Cr0.25% Ni0.25% Mn1.0%
材料抗微动磨损能力与抗粘着磨损能力有关,提高表面硬度(如渗碳、渗氮)和表明涂覆保护层,以及添加润滑剂等均可提高微动磨损抗力。冷作硬化对提高微动磨损抗力有明显效果,轴肩及轴径经滚压或抛丸处理后微动磨损抗力可提高2~3倍。设计中常在两接触面间采用加垫衬的方法,或镀铜、磷化等处理,以改变接触条件,这是防止微动磨损的有效方法,如锻锤锤头与锤杆之间配合处,油井钻杆螺纹连接处等。 磨损试验机因受实验条件(压力、滑动滚动速度、介质及润滑条件,温度,配对材料性质及表面状态等)影响很大,因此,试验条件必须尽可能接近实际工作条件;并且除在实验机上进行试验外,必要时还要进行中间台架试验和实物装车试验。 常用的磨损试验机有以下几种:

▲图12 滚子式磨损试验机
它模拟齿轮啮合、火车车轮与钢轨类的摩擦形式,现在发展为可进行滚动摩擦、滑动摩擦、滚动与滑动复合摩擦、冲击摩擦以及接触疲劳等试验,用途广泛。国产MM200型及瑞士Amsler型试验机即属此类。

MM200型磨损试验机实物图片
如图13所示,为切入式磨损试验机。方块形 上试样 固定,圆盘形 下试样 转动,在载荷作用下,下试样 切入 上试样,用读数显微镜测量切入磨痕宽度后,计算体积磨损量,可快速测定材料及处理工艺的性质。国产MK-1型,Skoda-Savin型试验机即属此类。

▲图13 切入式磨损试验机

切入式磨损试验机实物图片
如图14 所示,上试样销子固定,下试样圆盘旋转,试验精度高,易实现高速,便于进行低温与高温的摩擦、磨损试验。国产MD-240型、前苏联X-45型,美国NASA摩擦试验机为此类。

▲图14 旋转圆盘-销式磨损试验机


旋转圆盘-销式磨损试验机实物图
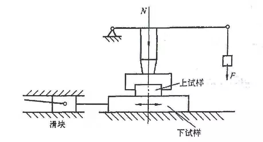
图15所示,该试验机适用于导轨、缸套、活塞环等摩擦副的试验。国产MS-3型为此类型,国外有福勒西和里西曼(美)、扎伊切夫(前苏联)、和深港(日)等类型。

▲图15 往复式磨损试验机

往复式磨损试验机实物图
图16所示。下面三个钢球有滚道支承,试验球则支承在三个球上。主动轴带动支承球自传,试验球支承球自传与公转,可用之测定摩擦因数及进行接触疲劳试验。国产机型有MQ-12型,国外有壳牌、增田等类型。还有的将四个球改为五个球,或把下边三球改为圆柱体,上边的球改为圆锥体的改型机。

▲图16 四球式摩擦磨损试验机

四球式摩擦磨损试验机实物图片

▲图17 ZYS-6型接触疲劳试验机

接触疲劳试验机图片
如图18所示。该实验机主轴带动旋转体旋转,试样12片,安装在旋转体周围。试验时,试样在砂与水的混合物中旋转,可以模拟犁铧、砂浆以及水轮机叶片的工作条件。

▲图18 湿式磨料磨损试验机

泥沙磨粒磨损试验机图片
测量磨损试验前后试样重量变化,以试验要求,在不同精密度的天平上进行。
测量试样前后磨损面法向尺寸的变化,常用千分尺、千分表、读数显微镜等。
1)台阶法;在摩擦表面边沿加工以凹痕台阶,作测量基准。
2)划痕法:在摩擦表面上划一凹痕,测量磨损试验前后凹痕深度的变化。
3)压痕法:用硬度计压头压出印痕,测量印痕尺寸在实验前后的变化。
4)切槽法或磨槽法:用刀具或薄片砂轮在磨损表面加工出一道月牙槽,测量凹痕变化。
试样经镶嵌、辐照、熔炼等方法是指具有放射性,测量磨屑的放射性强度,即可换算磨损量。
3.2 磨损量的表示方法
3.2.1 线磨损:原始尺寸减去磨损后尺寸。
3.2.2 质量磨损:原始质量减去磨损后质量。
3.2.3 体积磨损:失重/密度。
3.2.4 磨损率:磨损量/磨损路程,或磨损量/摩擦时间。
3.2.5 磨损系数:试验材料的磨损量/对比材料的磨损量
3.2.6 相对耐磨性:磨损系数的倒数。
(本平台"常州精密钢管博客网"的部分图文来自网络转载,转载目的在于传递更多技术信息。我们尊重原创,版权归原作者所有,若未能找到作者和出处望请谅解,敬请联系主编微信号:steel_tube,进行删除或付稿费,多谢!)