钢材金属材料在高温下的力学性能与室温下有很大不同,影响因素也比室温下复杂得多。室温下材料力学性能与载荷保持时间关系不大,但是高温下材料性能与时间有重大关系。高温下金属材料的组织可能发生变化,从而使性能也发生明显变化。随着温度的升高,材料受环境、介质的腐蚀作用也加剧,这也会影响材料性能。
金属材料的高温力学性能主要包括高温蠕变、松弛、高温疲劳、高温短时拉伸性能及高温硬度等。
一、高温蠕变
1.1 蠕变现象
金属在一定温度和一定压力作用下,随着时间增加,塑性变形缓慢增加的现象称为蠕变。
图1 为典型的蠕变曲线(ε-t曲线),它可分为三个区域(或三个阶段)。

▲图1 典型的蠕变曲线
区域Ⅰ(ab)为第一阶段,是减速蠕变阶段。加载后蠕变速度逐渐减少,如图2所示。
区域Ⅱ(bc)即第二阶段是恒速蠕变阶段。这一阶段如蠕变速度几乎恒定,蠕变速度最小。通常所说的蠕变速度都是指这一阶段的速度。
区域Ⅲ(cd)即第三阶段,是加速蠕变阶段,当变形达到c以后,蠕变速度迅速增加,达到d时断裂。

▲图2
-t关系曲线
当在恒定温度下改变应力或在恒定应力下改变温度时,所得的蠕变曲线如图3、图4所示,都保持这三个阶段。当应力较小或温度较低时,则其第二阶段(即等速蠕变阶段)可以延续的很长;相反,当应力较大或温度较高时,则第二阶段很短甚至消失,这时蠕变就只有第一、第二阶段,试样在短时间内断裂。

▲图3 应力对蠕变曲线的影响

▲图4 温度对蠕变曲线的影响
蠕变曲线所表示的ε-t关系常采用下式表达:
ε=ε0+βtⁿ+kt (1)
右边一项是瞬时应变,包括起始弹性形变和塑性形变(这个值随加载方法、形变的测定方法和精度等的不同,可能带来不同的误差),第二项是减速蠕变的应变,第三项是恒速蠕变引起的应变。
将式(1)对时间求导则得:
(2)
式中,n 为小于 1 的正数。
当 t 很小时,右边第一项起决定作用。随着时间增加,应变速度逐渐减小,它表示第一阶段蠕变。当时间继续增大时,第二项开始起主要作用,此时应变速度接近恒定值,即表示第二阶段蠕变。
1.2 蠕变极限及其测定方法
金属拉伸蠕变,其试验方法在GB/T2039-xxxx中有详细规定。材料的蠕变极限是根据蠕变曲线来确定的。确定蠕变极限有两种方法。
第二种:在一定温度下, 在规定时间内,恰好产生某一允许的总变形量,把对应的应力值定义为条件蠕变极限,这种条件下的蠕变极限记为
(MPa),其中 δ/τ 表示在规定时间 τ 内,使试样产生蠕变变形量δ%。例如
=10MPa表示在500℃下,10万小时后,变形量为1%的蠕变极限为10MPa。
这种条件蠕变极限可以这样来确定:首先在一定温度t1 恒定应力σ1 下作蠕变试验(参见图3)。这时无需花很多时间做出整条曲线,只需进行到第二阶段若干时间后,便可在 σ- ε-t 曲线上确定此时第二阶段的平均蠕变
1 。同样,若保持温度 t1 而改变应力 σ2,便可得
2 …… 这样可得到 t1 温度下一系列不同应力σ对应的不同
,可作出如图5 所示的 lgσ-lg
曲线。

▲图5 不同温度下lgσ-lg
曲线
因此在双对数坐标上可用下列公式表示:
= (3)
式中 a、b 是 与温度、材料试验条件有关的常数。
在动力工程中,如果规定,在 t1温度下
=10E-6%/h,则根据
e ,在lgσ-lg
曲线上很容易确定t1温度下的 σe 。
另外,根据lgσ-lg
曲线的线性关系可以看出,在采用较大应力,用较短时间做出几条曲线后,便可以用外推法求出较小蠕变速度下的蠕变极限。不过这种推算出来的数据不是来源于试验,使用时候要谨慎。
各种Cr-Mo钢的蠕变极限强度随温度变化曲线如图6 所示。可用看出,随温度升高,蠕变强度明显下降。

▲图6 各种Cr-Mo钢的温度-蠕变强度曲线
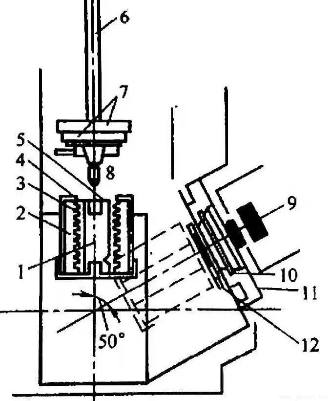
测定蠕变极限的试验装置如图7所示。

1.3 持久强度极限、持久塑性及其测定方法
1.3.1 持久强度极限
蠕变极限以考虑变形为主,如燃气轮机叶片在长期运行中,只允许产生一定量的变形量,在设计师必须考虑蠕变极限。持久强度则主要考虑材料在高温长时间使用条件下的断裂抗力,对某些零件(如锅炉管道、喷气式发动机等)等的蠕变变形要求不严,但必须保证在使用时不坏,这就要求持久强度极限来作为设计的主要依据。
高温拉伸持久实验方法在GB/T2039-xxxx中有详细规定。持久强度极限是指试样在一定温度和规定持续时间内引起断裂的最大应力值。记做(MPa)。例如:
=300MPa,表示某材料在700℃,经1000h后发生断裂的应力(也就是持久极限)为300MPa。
各种耐热材料和耐热合金的持久强度极限见图8 和 图9 。


锅炉、汽轮机等机组的设计寿命为数万至数十万小时。对于长寿命的持久强度极限,可以通过采用增大应力,缩短断裂时间的方法,根据经验公式外推到低应力长时间的持久强度极限。下面主要简述对数外推法:
t=Aσ (4)


西门子燃气轮机



▲图13 应力松弛原始曲线

图14 松弛曲线

▲图15 半对数松弛曲线
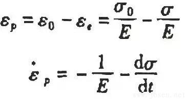
(8)
与σ的关系,见图16 。
▲图16 应力-塑性变形速度曲线
p 同时取决于应力和塑性应变;而第二阶段几乎与应变没有没有关系,仅仅取决于应力。这表明松弛的第一、二阶段与蠕变的第一、二阶段有相似的关系。
▲图17 松弛试验

计算机控制高温蠕变试验机实物图
如果没有上述试验机,可采用一般蠕变试验机进行试验,也称 Kobinson 法。如图18所示 。

也可以采用环形试样进行应力松弛试验,其试样形状和尺寸如图19 所示 。


▲图20 一些经1000h总应变约为0.2%的材料的应力松弛曲线
三、其它高温力学性能
3.1 高温短时拉伸性能
评定耐热材料的力学性能时,虽然短时拉伸性能不如蠕变和持久强度重要,但如果工作时间很短(例如火箭、导弹中的某些零件),或零件工作温度不高(在400℃以下使用的钢铁材料),且蠕变现象并不起重要作用,以及检查材料的热塑性等情况时,短时间高温拉伸性具有重要意义。
简单的高温拉伸试验可在普通的拉伸试验机上进行,只需附加加热与测量装置和耐高温的试验夹具及引伸计,即可测定高温抗拉强度、弹性模量、伸长率、断面收缩率等拉伸性能指标。但在高温短时拉伸时,实验温度和载荷持续时间或开始速度对性能也有显著影响,特别是加载速度和载荷持续时间及温度波动(例如±5℃)的影响更大。一般高温下的加载时间和持续时间比常温下要长。常温拉伸试验的加载速度通常为5~10MPa/s,高温短时拉伸加载速度较慢,一般为2.5~3MPa/s。高温加载时间一般以20~30min为宜,否则会带来较大误差。

高温拉伸试验机实物图
3.2 高温硬度
高温硬度用于衡量材料在高温下抵抗塑性变形的能力。对于高温轴承以及某些高温下工作的工模具材料,高温硬度是重要的质量指标。随着高温合金的开发,特别是高温陶瓷材料的开发,这方面的知识已得到广泛的应用。
高温硬度试验首先遇到的是压头问题。压头必须在高温下仍能保持足够的硬度并且十分稳定,与试样不发生化学反应等。
一般布氏硬度试验采用耐热钢、硬质合金或特殊陶瓷材料制成的压头。
金刚石压头虽经常使用,但必须注意,因被测试样种类不同,不能应用的场合很多。例如,600℃附近与钢材发生反应,1000℃时与纯铁发生粘着;900℃反复试验几次后压头便变钝损坏;在850℃以上易于 Ti 和 Cr 发生化学反应等。
对于金属试样,常用蓝宝石做压头,另外做压头材料的还有B4C、SiC等陶瓷材料。对一部分陶瓷材料,若不发生反应,使用温度可达1500℃ 。


高温显微硬度计实物图


▲图23 疲劳强度和持久强度的关系
、应力和应变波形等。一般在高温下,频率的变化会大大影响裂纹的萌生和扩展的循环周次。图24所示 为频率与温度对不同滑移材料疲劳寿命的影响。
图25所示 为加载波形和保持时间对疲劳寿命的影响。

▲图25 加载波形和保持时间对疲劳寿命的影响
由该图可见,在循环拉伸侧保持一段时间,使疲劳寿命下降。实际上,如果要综合考虑温度、时间对高温疲劳寿命的影响,必须同时考虑蠕变与疲劳两者以及他们之间的相互作用,即由两者的综合作用引起的构件失效。
3.3.3 蠕变与高温疲劳的交互作用
在高温下工作的许多实际工程构件,如燃气轮机、核反应堆零件、化学高温容器等,在工作时虽承受了循环应力或循环应变载荷的作用,但设计时不能进单一地按疲劳蠕变作设计准则,必须考虑两者的交互作用。
蠕变与疲劳的相互作用,目前已提出许多理论,如线性损伤积累理论、应变分区理论,塑性耗竭理论等。下面简单介绍线性损伤积累理论。该理论认为:蠕变引起的损伤Φe与疲劳引起的损伤Φf是各自独立的,两种损伤可以互相叠加(Φf+Φe),当他们达到材料允许极限损伤Φt时,尺寸便失效。因此设计准则为:
Φf+Φe≤Φt (10)
该式可以进一步表示为:
(11)
式中 Nd——允许的循环次数
Td ——允许的蠕变断裂时间
n—— 实际循环次数
t ——实际蠕变时间
式(11)是 Palmgrem-Miner 经典损伤法则的表达式。

我国自主研发的第三代核反应堆
(本平台"常州精密钢管博客网"的部分图文来自网络转载,转载目的在于传递更多技术信息。我们尊重原创,版权归原作者所有,若未能找到作者和出处望请谅解,敬请联系主编微信号:steel_tube,进行删除或付稿费,多谢!)

