什么是钢板不平度?如何测量?
在板材交易中,经常会遇到不平度相关的质量问题,因为其标准复杂、检测要求比较特殊,很多人可能不太了解。
1、什么是不平度?
不平度:钢板的不平度是指将钢板自由地放置在平台上测得的钢板下表面和平台间的最大距离,它包含中浪、边浪、翘曲三种类型。

翘曲
2、如何检测不平度?
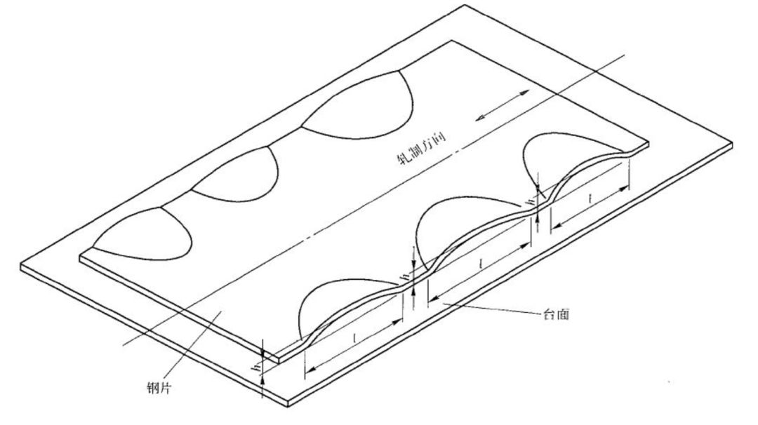
按不平度的解释看,测量不平度的最标准方法是:试样应放在表面足够大的平台上,试样不得伸出平台外。然后提起试样的一端并放下,用准确度为毫米的标准量具测量最大波高(h)与波长(L),如下图



然而,在现场很多情况下我们无法找到一个适合的平台面来放置试样,这种情况下需要换一种行业内认可,只是没有在标准中注明的方法来做初判。
方法是用一把平直度高,不会因自重产生弯曲变形的直尺放在两个波浪的波峰上测量钢板上表面至与钢板接触的直尺表面距离h,这个钢直尺也用来测量波长L,这种直尺如下图:


一般在厂里称为U型尺,也有其他行业称为焊工直尺,这种直尺是专业测量工具,厚度在5mm左右,长度1米以上,是耐磨工具钢材质,而它的重量大,只能用于测量厚度较大、强度高的钢板。测量某些薄板我们可以用自重轻的塑钢直尺来做初判。
另外还用到一个比较专业的测量工具——锥形尺,来测量直尺表面与钢上表面之间的距离h,因其他原因不能使用锥形尺也可以使用其他量具。

由于条件有限,小编身边没有试样、U形尺、锥形尺,只能用其他事物来做一个简易测量示范。

3、不平度的标准要求
不平度因为不同产品和不同的执行标准,有不同的要求,以Q/BQB 401-2018标准要求为例:
钢板的不平度是指将钢板自由地放置在平台上测得的钢板下表面和平台间的最大距离。
不平度的规定仅适用于钢板。如钢板未经平整,仅适用普通不平度精度。
钢板的不平度应符合表10的规定值。
对规定最小屈服强度小于260MPa 的钢板,如用户对不平度精度有特殊要求,也可按表11给出的超高级精度订货。
如用户对卷状交货产生的L翘有特殊要求,可另行商定。


长度不大于 2000mm 的钢板,钢板的长度即不平度的测量长度。
长度大于 2000mm 的钢板,可任意截取 2000mm 长度的钢板进行不平度的测量。
从上面的标准要求上看,似乎长度L对不平度没有太大意义,但看另外一个条款,长度L就有意义了。
对规定最小屈服强度小于 260MPa 的钢板,当按高级不平度精度或超高级不平度精度供货时,仲裁情况下另需检验边部浪(Edge wave),边部浪应符合以下规定:
当边部浪长度不小于 200mm 时,对于公称宽度小于 1500mm 的钢板,波浪高度应小于边部波浪长度的 1%。
当边部浪长度不小于 200mm 时,对于公称宽度不小于 1500mm 的钢板,波浪高度应小于边部浪长度的 1.5%。
当边部浪长度小于 200mm 时,波浪高度应不大于 2mm。
4、其他标准要求
不平度在不同的标准有,有的是引用其他的标准,有的是另行规定,比如Q/BQB 450-2018镀锡版的不平度就另有规定:

在这个表中,有一个名称叫急峻度,即波高h与波长L的百分比值:
h/L×100%
小结
在贸易钢板后续加工中会造成不平度超标,如剪切、激光切割、吊运、包装等等环节都会造成影响,而客户加工零件也会造成影响。
在加工使用中,即便是原板不平度精度很高,但用经过多道加工工序后,不平度产生了变化,比如无取向电工钢做变压器,有的需要冲裁冲孔多道工序之后再叠装,这种情况下,因为模具等原因导致零件不平度较差,不能满足叠装要求。
因此要了解客户的实际使用需求,根据客户需求与钢厂签订不同的质量要求,以免客户无法使用,造成双方不愉快。


