近几年,淬火介质技术快速发展,各种各样针对性淬火介质层出不穷。但是,商用介质也并不是适合所有场合,一些常规介质常有着不可替代的作用。本期介绍几种常规淬火介质的冷却特性,掌握这些特性,普通介质依然能闪耀其独特的亮点。
一、空气和水
1.1 空气
空气作为一种气体,通过膜沸腾机制来冷却热钢件。与其他淬火冷却介质相比,静止空气的相对烈度见表1。如其他淬火冷却介质一样,空气的冷却速度取决于流经钢件表面的空气的流速,见图1 。虽然空气是易得且廉价,但是空气淬火一般无法提供足够的淬冷烈度来使大多数钢硬化。
▼表1 各种淬火冷却介质的典型传热系数


▲图1 标准大气压下,静止空气及1MPa压
缩空气(虚线)对钢的冷却速度的对比
传热的测量是一个Φ20mm
银球,中心嵌有一支热电偶
1.2 水
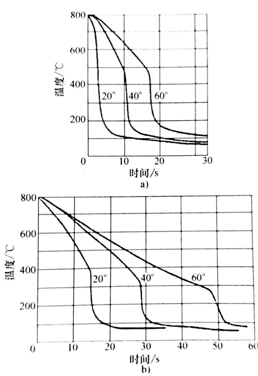
冷水是最剧烈的淬火冷却介质之一。但是,水的淬冷烈度变化范围很大。蒸馏水(软水)相对于非蒸馏水或硬水(可能包含不定量的硬金属盐)而言,其膜沸腾行为会大幅增加。硬水中存在的硬金属盐会吸附到钢的表面上,成为气泡形核点,从而促进气泡的形成和核沸腾,从而减少了膜沸腾阶段的持续时间。硬水里含有钙和镁的碳酸盐和碳酸氢盐,还有一些其他多价金属盐。蒸馏水和硬水冷却性能的区别如图2 所示,硬水的冷却速度明显高于蒸馏水。淬火水温和搅拌对水冷却速度的影响如图3 所示。
关于水温和搅拌对水淬的影响,有以下几个重要结论:
1) 水温升高,冷却时间增加。
2) 最大冷却速度和最大冷却速度发生的温度随水温升高而降低。
3) 随着水温的升高,工件343℃ (649℉)时的冷却速度只有轻微降低。
4) 水温对232℃ (450℉)时的冷却速度影响非常小。
5) 在用20℃ (68℉)的冷水淬火时,由于淬火过程中三种沸腾机制同时存在,造成冷却结果不一致;但是在60℃ (140下)的热水中淬火时,蒸汽膜更稳定,膜破裂需要更多的搅拌。
6) 冷水淬火并提高搅拌速度,相对于无搅拌的热水来说,残余应力较小。
零件设计对变形和开裂的影响在其他情况下可能被掩盖掉了。但是,在以下特定的淬火冷却介质中,有明确的零件设计要求(建议):
1) 横截面尺寸(d ) 较小的长型(长度为L )零件应按以下方法淬火:长而细的零件,如果L= 5d, 可以在水中淬火;如果L=8d, 应该在油中淬火;如果L=10d, 应该用等温淬火。
2) 大而薄的零件是指横截面积(A ) 与厚度(t ) 的关系为A≥50t 。零件如果达到这个尺寸关系,淬火后必须校直或者采用压淬,以保证尺寸稳定性。如果材料具有足够的淬透性,则应该用油淬或者熔盐淬火。
二、盐、碱水溶液
盐、碱水是指各种不同浓度的盐或碱的水溶液。如氯化钠或氯化钙的水溶液、碳酸钠水溶液、氢氧化钠水溶液。在同样的搅拌条件下,盐水的冷却速度要高于蒸馏水。盐的存在还会降低蒸汽膜形成倾向,而蒸汽膜会导致不均匀冷却,变形增加、开裂和软点的形成。虽然有很多种盐溶液可以使用,但是热处理行业中最常用的是以下两种:
彼得拉什(Petrash ) 研究了 NaCl 和 NaOH 的加入对水的蒸汽膜稳定性的影响。仅仅添加 5% 的 NaCl 几乎就可使蒸汽膜冷却阶段完全消除,如图4 a)示。

在水中加入15%的 NaCl 可以得到最理想的冷却速度。虽然提高盐水温度会使淬冷烈度产生期望的降低,如图4 b)所示,但是水的蒸汽膜冷却阶段并不伴随着这种降低而延长。NaCl 水溶液最常见的替代物是NaOH 水溶液。加入NaOH 对冷却速度增加的影响类似于 NaCl 在更高温度下的效果。但是,在大多数钢的马氏体转变温度区域[低于350℃ (660℉) ]的冷却速度比 NaCl 慢,这有望降低开裂敏感性。图5所示,为 NaOH 浓度对冷却速度的影响。

▲图5 NaOH 浓度对冷却速度的影响
[浴温为20℃ (70℉)
崔(Cui ) 等人研究了在水中分别加入0.06mol/L 的NaCl、Na2SO4和 MgSO4 对喷雾冷却过程中传热的影响。他们报道称,添加 NaCl 和 Na2SO4 加速了核沸腾过程的传热,但对过渡沸腾都没有显著的影响。在这些盐中,NaCl 在该浓度值下表现出的影响最小,而 MgSO4 最大。随着MgSO4 浓度的增加,其对冷却速度的影响也随之增加,直到浓度增加到0.2mol/L时, 在过渡沸腾和核沸腾两个阶段,热流密度的增加都达到最大。另外,该报道还称,在过渡沸腾阶段 MgSO4 粘附到了金属表面上,并使表面粗糙度值和传热量都得到增加。新井(Ara ) 和古屋(Furuya ) 研究了膜沸腾过程,他们使用的是一个Φ30mm (Φ1.2in)的球形304 不锈钢探头,球体内嵌一个K型热电偶,并用惰性气体保护焊将钨焊在距离底部2mm(0.08in)的位置。奥氏体化之后,探头一半直径[15mm(0.6in ) ] 被浸入淬火介质中(纯水或CaCl2 的水溶液)。淬火冷却介质的温度为80℃ (175℉) 。当近表面温度冷到800℃ (1470℉)时开始计时。每次实验都用一根新探头。用数码摄像机观察沸腾行为,帧速为30帧/s, 快门速率为0.125ms。最终得到了试验的冷却时间-温度曲线和冷却过程的视频。图6 所示为得到的冷却曲线;图7 所示为挑选的高速率照片,用来说明 CaCl2 对冷却过程的影响。


▲图7 浓度为20%的 CaCl, 对蒸汽膜破溃的影响图6 中在纯水冷却曲线上标记为A、B、C、D和E的点表示:
1) 点A拍摄于0. 0s, 表示稳定蒸汽膜的形成。
4) 点D点处整个球的蒸汽膜破溃,有很多气泡形成。质量分数为20%的 CaCl2 溶液对应的冷却过程如图6 所示。与纯水相比,其在界面冷却行为上有一些不同。例如,比纯水的蒸汽膜更薄,破溃得更快。当膜沸腾转变到核沸腾时,在点D处,小的气泡与表面分离,CaCl2溶液变得浑浊。合起来看,这些数据表明,CaCl2 的存在提高了膜沸腾的传热速率并有效动摇了蒸汽膜(使之不稳定)。在纯水中,蒸汽膜厚度大约为 0.5mm(0.02in) , 其最大值出现在点A处,蒸汽膜向水面传播。在CaCl2 溶液中,蒸汽膜厚度将大幅减小。在以上两种情况下,膜沸腾都发生在过热度为500K及其以上的范围。表面热流密度随着过热度的减小而减少。在表面热流密度达到最小值时过渡到核沸腾发生。相对于纯水而言,CaCl2 溶液显示出相似的趋势,但是其在膜沸腾期间的表面热流密度和表面热流密度最大值要比纯水更大。穆欣娜(Mukhina) 等人评估了10%~12%的CaCl2和14%的 MgCl2(也叫水氯镁石)浓溶液的应用。他们发现,结合强烈搅拌,中碳钢形成了高的表面压应力,能避免淬火时在钢表面膜沸腾结束时形成的开裂。另外,在力学性能方面比油淬要好20%~30% 。在一项较新的研究中,科巴斯科(Ko-basko) 等人拓展了穆欣娜之前的工作,评估了更多盐溶液的应用,包括 NaNO3, Na2CO3、NaCl、CaCl2、Ca (OH) 2 。然而,在所有情况下,最佳浓度不仅要被用到,还要结合强烈搅拌的水来使用(注:最佳浓度是指产生最少量膜沸腾的盐浓度)。钢的含碳量是选择淬火冷却介质的决定性因素之一,特别是因为随着含碳量的增加,开裂倾向也随之增加。表2 所列为水、盐水和氢氧化钠溶液淬火建议的含碳量限值。但这些数据不适用于强烈淬火工艺。
▼表2 水、NaCl溶液、NaOH溶液淬火建议的含碳量限值

盐溶液的浓度通常用密度来量化。各种代表性溶液的 NaCl 和 NaOH 浓度的的密度见表3 。
▼表3 盐水浓度和密度之间的关系

水和不同的盐溶液与其他介质的相对冷却速度见表4 。如设想的一样,在表中所列的各种淬火冷却介质中,盐溶液具有最大的相对冷却速度。而且水温升高将导致相对冷却速度逐渐减慢。热水、空气和真空是其中冷却速度最慢的淬火冷却介质。
▼表4 不同淬火冷却介质的相对冷却速度

三、熔融金属

铅是历来最常用于做淬火冷却介质的金属之一。铅的熔点是 327℃ (621°F) , 使用范围一般为343~ 927℃ (649~1701°F) 。低于343℃ (649°F) 时,铅黏度太大,不能有效地用作淬火冷却介质。熔融铅的热物理性能见表5 。尽管铅是有毒物质,并且存在清理问题,但其优异的处理效果,仍然被用于钢丝的派登脱处理(索氏体化淬火)和一些等温淬火操作中。因为熔融铅具有高的热导率,并且没有膜沸腾冷却阶段,所以在高温阶段具有相当快的冷却速度,是其他淬火冷却介质难以企及的。
▼表5 熔融铅的物理性质

铅浴派登脱(索氏体化)处理的冷却过程受熔融铅热物理性质的影响,包括黏度,比热容、热导率及钢丝表面和熔融铅之间的边界层厚度,图8 所示,为随浴温从 475℃ (885℉) 增 加 到 550℃ (1020℉)其冷却速度逐渐增加。这在一定程度上是因为随着温度升高黏度在降低。但是,随着浴温进一步升高到 690℃ (1275°F),冷却速度又下降了。这在一定程度上是因为钢丝与铅浴之间的温差减小了。此外,需要着重指出的是,在所示的三个(温度)冷却过程中,都没有发生膜沸腾。
▲图8 Φ5mm×10mm ( (Φ0.2in×0. 4in)
因为铅的毒性和废料处理问题,有人研究了其替代淬火冷却介质。酋崎正刚研究的一种可能的替代物是用熔融钠去淬淬透性更低的钢,它们要达到需要的淬火深度需要很快的冷却速度。熔融钠的物理性质见表6 。在此项研究中,熔融钠浴的温度范围为150~300℃ (300~570°F) 。图7 所示,为水、矿物油、聚合物水溶液、熔融盐和熔融钠[液温为 115℃ (240°F) 、200℃ (390°F) 和 300℃ (570°F) ] 的冷却曲线对比。
▲图9 Φ10mm×30mm ( Φ0.4in×1.2in) 的钠[115℃ (240℉F) 、200℃ (390°F) 、相对于其他一起进行评价的淬火冷却介质,熔融钠在冷却曲线高温阶段的冷却速度是最快的。采用这些数据进行计算的结果显示,熔融钠在冷却曲线的高温阶段具有很高的传热系数[30000W/ (m²/K) ] 。而且随着熔融钠浴温度的增加,在低温阶段冷却速度逐渐降低。
因为无毒、物理性能与熔融铅类似,有人研究了将铋作为一种替代铅的淬火冷却介质的可能性。熔融铋的热物理性质见表7 所示。
▼表7 熔融铋的物理性质

Ru 和 Wang 对使用熔融铋淬AISI1025碳钢做了研究。钢试样在900℃ (1650℉)下奥氏体化,然后淬入熔融铅或熔融铋,液温分别为400℃ (750℉) 、430℃ (800℉)和460℃ (860℉)。淬入铋或铅所得的显微组织和硬度值基本相同。而且淬火后在熔融铋浴里没有发现明显的腐蚀或铋与钢的反应。基于此研究可得出结论:在目前使用熔融铅的场合,熔融铋是一种可行的替代物。
分级淬火和等温淬火都要求淬火冷却介质的温度相对较高。分级淬火要求钢件迅速冷却到比 Ms 转变温度稍高一点的温度,稳定化,然后冷却到室温。这种工艺旨在使开裂倾向最小。淬火油典型的黏度和使用温度见表8 。
▼表8 淬火油典型的黏度或使用温度

等温淬火是将钢件冷却到稍高于Ms 温度然后保温足够长的时间,使奥氏体转变成贝氏体。由于等温淬火可能要为在这种相对较高温度下使用而专门配制矿物油,所以通常用熔融盐。分级淬火和等温淬火可能都不使用普通淬火和回火的油。图10 所示,为等温淬火和分级淬火原理的对比。
高温淬火冷却介质通常选择熔融盐。熔融盐淬的优点如下:
1) 速率可控的冷却可以在一些高合金钢中得到完全退火的组织(等温退火)。
2) 冷过转变曲线珠光体“鼻尖”之后到马氏体转变之前的一个合适温度下等温(均温), 将降低不希望出现的变形和开裂风险(分级淬火)。
3) 在可控速度下冷却到合适的温度,可以使高速钢的氧化皮、变形及开裂降至最小(双介质淬火/分级淬火)。加热时与空气隔绝有利于表面保护。4) 马氏体形成阶段的开裂风险被降低了,如弹簧钢丝。5) 以可控速度冷却可以等温转变成贝氏体(等温淬火)。6) 液温是一致的,并且可以将误差精确控制在±2℃ (4°F) 。大多数淬火用盐是硝盐,即硝酸钾(KNO3 ) 、亚硝酸钠(NaNO2 ) 和硝酸钠(NaNO3 ) 中的两种或三种的混合物。最低淬火温度取决于盐混合物的熔点。各组分的比例将影响熔融混合物的黏度,而黏度会影响冷却速度。这些熔融盐的淬火温度范围为140~600℃ (285~1110°F) 。熔融盐浴温度在600℃ (1110°F)时容易爆炸降解。表9 所列,为三元混合盐浴与一种常用矿物油物理性质的对比。虽然矿物油的比热容相对大一些,但是熔融盐的热导率大约是同等质量矿物油的5倍、同等体积矿物油的10倍。而且熔融盐淬火时不产生膜沸腾现象。
▼表9 三元混合硝盐浴与常用矿物油物理性能的对比

含水量对 KNO3+NaNO2+NaNO3 三元混合盐沸点和凝固点的影响如图11 所示。
▲图11 含水量对 KNO3/NaNO2/NaNO3
图11 也表明,随着水的加入,沸点降低得更迅速。据报道,只要盐浴温度保持在含水混合物(即盐浴)最终的沸点以下含水量可以长时间保持。但是,当炽热钢件浸入含水混合物中后,温度可能暂时超过沸点,一部分水将被汽化,要维持这个组分则要添加新水。因此,为减少淬火过程中水分的流失,较好的办法是使淬入的盐混合物温度更靠近凝固点而不是沸点。迪拜铝业(Dubal ) 报道称,加入1%的水将使干盐(无水的盐)的熔点降低11℃ (20°F) , 而加入2% 的水则降低19℃ (35°F) 。虽然三元混合盐淬火的温度范围为150~600℃ (300~1110°F), 但是加入10% 的水便可以在80℃ (175°F)的低温下进行盐浴淬火。更具代表性的含水量是0.5%~2%, 以满足更常规的操作温度范围150~290℃ (300~550°F) 。添加的水不是淡水,而是清洗槽里的盐溶液。也有人用低压蒸汽代替水的。水在盐浴中的饱和含水量与盐浴温度的函数关系见表10 。出于安全考虑,要求将水加入良好搅拌的盐浴中而不能加入无搅拌的盐浴中。熔融盐的淬冷烈度与矿物油大致相同,两者的格罗斯曼 H 值对比见表11 。两者的冷却速度都慢于水、盐水溶液以及聚合物水溶液。随着聚合物水溶液组成、浓度及搅拌方式的改变,淬冷烈度的变化范围可以涵盖从熔融盐和矿物油到盐水溶液的淬冷烈度。
▼表10 KNO3/NaNO2/NaNO3
饱和含水量与盐浴温度的关系

KNO3+NaNO2+NaNO3 三元盐浴的冷却曲线随着含水量的增加而上升,如图12 所示。需要指明的是,冷却曲线高温区域的冷却速度随含水量的增加而提高,直到含水量增加到研究的最大值2.7%也观察不到气相行为。
搅拌对一种低熔点盐在175℃ (350°F) 时冷却速度的影响如图13 所示。
研究中的冷却速度是650℃ (1200°F) 和260℃ (500℉) 之间的平均值。数据显示,随着搅拌速度加快,冷却速度大幅提高。如之前讨论的,含水量从0.5%增加到5%会使冷却速度提高,如图14 所示。
水的加入和搅拌结合起来,可以使冷却速度(淬冷烈度)增加3倍。Liscic, 通过淬用 AISI 4140钢制造的Φ50mm×200mm (Φ2in×8in) 的圆棒并在横截面上检测洛氏硬度分布情况,证明了搅拌速度和水的添加对200℃ (390℉)热盐浴[德固萨(Degussa) AS-140] 的影响。图15 表明,搅拌比不搅拌带来的硬度增加更大。但是,加2%的水之后,硬度和淬硬深度又得到了进一步的增加。对比3/4R处的硬度值可以发现,良好搅拌并添加2%的水,比无搅拌也不添加水时硬度提高了 19HRC 。对于47HRC的硬化深度,加2%水的比不加水时增加了4倍。
▲图15 在200℃ (390℉) 热盐浴中搅拌和
选择分级淬火还是等温淬火工艺还取决于材料的种类。表12 中列出了普通碳钢、合金钢及铸铁采用不同工艺时能够达到的洛氏硬度。
▼表12 不同材料的马氏体淬火和贝氏体淬火

盐浴温度在195~350℃ (385~660°F) 范围内变化对格罗斯曼H值的影响很小。一般来说,合金钢比碳钢更常采用分级淬火。但是,如果是强烈搅拌分级淬火油,则一些本来用水淬的壁厚小于5mm的碳钢也可以在205℃ (400°F)下分级淬火。但不管怎样,分级淬火都不能省略回火处理。最常采用分级淬火的钢牌号包括 AISI 1090、4130、4140、4150、4340、300M、4640、5140、6150、8630、8640、8740、8745. SAE 1141 和 SAE 5100等。渗碳后分级淬火的渗碳钢牌号包括 AISI3312、4620、5120、8620和9310.灰铸铁零件通常也做分级淬火。尽管通常用热油进行分级淬火[175℃ (350°F) ] , 但是也可以使用添加水的熔融盐。据沃尔(Wahl ) 报道,碳钢渗碳后在盐浴中分级淬火,温度设在180~200℃(355~390°F) , 含水量为0.5%~1.0%以提高冷却速度,主要的传热方式是对流传热。

等温淬火有很多优点,例如可使零件具有高硬度和高韧性,同时可减少变形和尺寸变化以及开裂。但是,等温淬火冷却介质不是对所有钢都普遍适用的,其应用限制因素包括横截面尺寸、钢中含碳量等、表13~表15 中列出了对于不同钢成分、合金元素类型,能做等温淬火的横截面尺寸及厚度限制的建议。这些建议中的最大直径相当于在 315℃ (600°F) 的盐浴中保温时,其心部冷却速度刚好能够错过钢合金TTT曲线的“鼻尖”。
一般来说,随着转变温度的升高,等温淬火的浸入时间(等温时间)减少。随着钢中含碳量的增加,在相同转变温度下转变时间也增加。同时,在奥氏体化钢刚浸入时传热速度最快,传热也是最关键的。液流长距离的自由落体或者搅拌可以加快传热速度。增加搅拌是最有效的。如前面讨论过的,当钢的淬透性处于临界值时,或者要淬火的零件横裁面尺寸很大时,可以采用添加水的办法。关键问题是最小变形时,零件应该在尽可能低的温度下奥氏体化,然后淬入温度尽可能高的盐浴中。如果零件长而细,则需要将其竖直悬挂,以使周围液流更为一致,从而保证变形最小。
(本平台"常州精密钢管博客网"的部分图文来自网络转载,转载目的在于传递更多技术信息。我们尊重原创,版权归原作者所有,若未能找到作者和出处望请谅解,敬请联系主编微信号:steel_tube,进行删除或付稿费,多谢!)