冷轧产品的包装、标志及质量证明书
(Q/BQB 400-2003 代替 Q/BQB 400-2002)
宝钢资源查询
1 范围
本标准规定了常州精密钢管博客网生产的冷连轧钢板及钢带、涂镀钢板及钢带、冷轧无取向电工钢带(卷)的包装、标志及质量证明书的要求。钢带亦称为钢卷。
2钢板及钢卷应包装整齐、捆扎结实,标志应粘贴牢固、字迹应清晰。
3钢板的包装
3.1 钢板的包装类型及方式示于表1和图1~图7。
表1
类型及适用产品 包 装 方 式 适用范围 标 志 捆(包)重量(吨)
1   (图1)
 
 
 
冷轧、镀锌及彩涂
钢板
1.裸露包装;
2.用上、下盖板包裹;
3.角部捆扎处衬护角;
4.捆扎道次:纵横各不少于3道;
5.用垫木或钢木托架。
附近地区的直接用户 标签不少于二个 3.0~5.0
2 (图2)  1.用专用防锈纸或中性纸包裹;
2.用塑料薄膜覆盖;
3.用上、下盖板和侧护板包裹;
4.捆扎道次:纵横各不少于3道;
5.用垫木或钢木托架。
市内及江浙一带用户

 
3
(图3)
1.用专用防锈纸或中性纸包裹;
2.用塑料薄膜覆盖;
3.用包装铁盒罩盖包装(含浅盒加侧护板包装和全盒式包装);
4.捆扎道次:纵横各不少于3道;
5.用垫木或钢木托架。
需远途运输、出口的产品
4 (图4)


钢板
内 包 装 外 包 装
适用于本市及附近地区的直接用户。

标签不少于二个,粘贴怕湿、向上和小心轻放标志。

0.5~2.3
1.上面和侧面用防锈包装纸进行全封闭包装;
2.防锈纸接缝用胶带纸搭接;
3.上下各用一张保护板保护;
4.上下各放一张瓦楞纸;
5.用木台。
1.板包各边部使用护角;
2.纵、横各不少于1根捆带,周向不少于1根捆带,免扣打捆;
常州精密钢管博客网    2003-06-04发布   2003-12-15实施
表1 (续)
类型及适用产品 包 装 方 式 适用范围 标 志 捆(包)重量(吨)
内 包 装
外 包 装

5
(图5)

电 镀 锡 钢 板
1.上面和侧面用防锈包装纸进行全封闭包装;
2.防锈纸接缝用胶带纸搭接;
3.上下各用一张保护板保护;
4.上下各放一张瓦楞纸;
5.板包竖边部使用边部护角;
6.周向捆带不少于1根,免扣打捆;
7.用木台。
1.用侧护板和铁盒;
2.纵、横各不少于2根捆带,周向不少于1根捆带,免扣打捆。

适用于周转少、气候条件好的环境。
标签不少于二个,并粘贴怕湿、向上和小心轻放标志。
0.5~2.3

6
(图6)
1.上面和侧面用防锈包装纸进行全封闭包装;
2.防锈纸接缝用胶带纸搭接;
3.上下各用一张保护板保护;
4.上下各放一张瓦楞纸;
5.板包各边部使用护角;
6.纵、横、周向捆带各不少于1根,免扣打捆;
7.用木台。
1.用侧护板和铁盒;
2.纵、横各不少于2根捆带,周向不少于1根捆带,免扣打捆。

适用于远距离运输

7
(图7)
1.上面和侧面用防锈包装纸进行全封闭包装;
2.防锈纸接缝用胶带纸搭接;
3.上下各用一张保护板保护;
4.上下各放一张瓦楞纸;
5.板包各边部使用护角;
6.纵、横、周向捆带各不少于1根,免扣打捆;
7.用木台。  
1. 用侧护板和铁盒;
2. 纵、横各不少于2根捆带,周向不少于1根捆带,免扣打捆。
适用于镀锡花边板
3.2 钢板的包装类型(方式)由需方选择。如需方未选定包装类型(方式),则由供方确定合适的包装类型(方式);如需方对捆(包)重量有特殊要求,可经供需双方协商确定并在合同中注明。  
4 钢卷的包装
4.1 钢卷的卧式包装类型及方式示于表2和图8~图10。
4.2 钢卷的立式包装类型及方式示于表3和图11~图13。
4.3 钢卷包装类型(方式)中,如果是由纵切钢带合并成一包,捆(包)重量指该包所有纵切钢带的重量之和。
4.4钢卷的包装类型(方式)由需方选择。如需方未选定包装类型,则由供方确定合适的包装类型(方式);如需方对捆(包)重量有特殊要求,可经供需双方协商确定并在合同中注明。
表  2
类型及适用产品 包 装 方 式 适用范围 标 志 捆(包)重量(吨)
8
(图8)

所有产品
1. 内、外圈用专用防锈纸或中性纸包裹;
2. 外周加外周包板;
3. 捆扎处加纸外护角;
4. 端部加铁内护角;
5. 捆扎道次:径向、圆周各不少于3道。  
适用于本市及附近直接用户 标签不少于二个,并粘贴怕湿、小心轻放、向上或开卷方向标志。 3.0~15.0
9
(图9) 
1. 内、外圈用专用防锈纸或中性纸包裹;
2. 端部加纸内、外护角;
3. 内、外圈分别用外周包板和内周护板封闭包装;
4. 端部加铁圆护板,铁内、外护角;
5. 捆扎道次:径向、圆周不少于3道;
国内北方市场
10
(图10)
1.内、外圈用专用防锈纸或中性纸包裹;
2.加塑料套;
3.端部加纸内、外护角,圆护瓦楞纸;
4.用外周瓦楞纸;
5.内、外用外周包板和内周护板封闭包装;
6.端部加铁圆护板,铁内、外护角;
7.捆扎道次:径向、圆周不少于3道。
国内南方市场
表  3
类型及适用产品 包 装 方 式 适用范围 标 志 捆(包)重量(吨)
11
(图11)
电工钢 1.分条钢卷之间加缓冲材料;
2.用电工钢专用防锈纸进行全封闭包装;
3.用塑料套全封闭包装;
4.外周加外周包板;
5.顶部加纸外护角圆盒盖;
6.底部加圆形瓦楞纸;
7.捆扎道次:周向不少于3道,十字2道;
8.立式木托架。  
适用于本市及附近直接用户 1. 标签不少于二个;
2. 粘贴怕湿、小心轻放和开卷方向标志。  
3.0~15.0
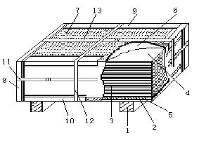
12
(图12)
非电工钢 1.用专用防锈纸或中性纸全封闭包装;
2.用塑料套全封闭包装;
3.端部加纸内、外护角;
4.底部使用铁外护角和圆护铁板;
5.外周加外周包板;
6.顶部使用圆盒盖和铁外护角;
7.捆扎道次:周向不少于3道,十字2道;
8.立式木托架。  
适用于远距离运输
13
(图13)
电工钢 1. 用电工钢专用防锈纸全封闭包装;
2. 用塑料套全封闭包装;
3. 外周加外周包板;
4. 顶部加纸外护角、圆盒盖和铁外护角;
5. 底部加圆形瓦楞纸;
6. 捆扎道次:周向不少于3道,十字2道;
7. 立式木托架。  
可用于远距离运输
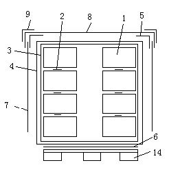
1-托架;2-下盖板;3-钢板;4-上盖板; 5-横向捆带;6-纵向捆带;7-护角;8-锁扣 1-托架;2-下盖板;3-钢板;4-防锈纸;5-塑料薄膜; 6-侧护板;7-上盖板;8-横向捆带;9-纵向捆带;10-锁扣
图1  钢板包装 图2  钢板包装
 
1-托架;2-下盖板;3-钢板;4-防锈纸;5-塑料薄膜; 6-铁盒盖;7-横向捆带;8-纵向捆带;9-锁扣  
图3  钢板包装  
(内包装) (外包装)
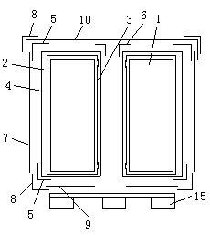
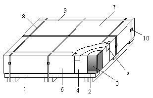
1-木台;2-下盖板;3-钢板;4-上盖板;5-底部瓦楞纸;6-防锈纸;7-上部瓦楞纸;8-边部护角; 9-上部护角;10-下部护角;11-周向捆带;12-横向捆带;13-纵向捆带
图 4  钢板包装

                                       
(内包装)
(外包装)
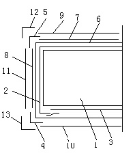
1-木台;2-下盖板;3-钢板;4-上盖板;5-底部瓦楞纸;6-防锈纸;7-上部瓦楞纸;8-边部护角; 9-周向捆带(内);10-围板;11-铁盒;12-周向捆带(外);13-横向捆带(外);14-纵向捆带(外)
图 5  钢板包装
(内包装)
(外包装)
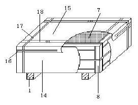
1-木台;2-底板;3-钢板;4-盖板;5-底部瓦楞纸;6-防锈纸;7-上部瓦楞纸;8-边部护角; 9-上部护角;10-下部护角;11-周向捆带(内);12-横向捆带(内);13-纵向捆带(内)14-围板; 15-铁盒;16-周向捆带(外);17-横向捆带(外);18-纵向捆带(外)
图6  钢板包装
(内包装)
(外包装)
1-木台;2-底板;3-钢板;4-盖板;5-底部瓦楞纸; 6-防锈纸;7-上部瓦楞纸; 8-端面瓦楞纸;9-边部护角;10-上部护角;11-下部护角;12-周向捆带(内);13-横向捆带(内); 14-纵向捆带(内);15-围板;16-铁盒;17-周向捆带(外);18-横向捆带(外);19-纵向捆带(外)
图 7  钢板包装
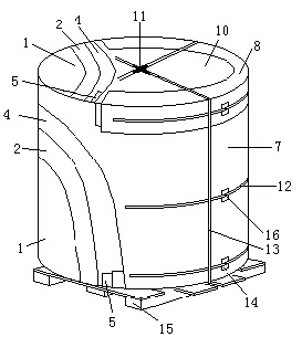
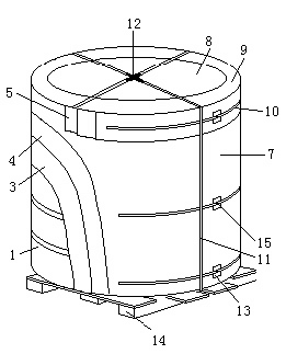
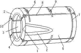
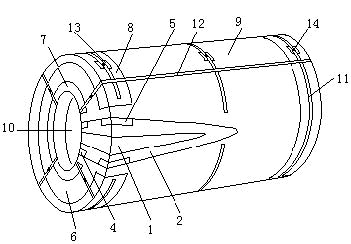
1-钢卷;2-外周防锈纸;3-内芯防锈纸;4-铁内护角;5-外周包板;6-纸外护角;7-周向捆带; 8-径向捆带;9-锁扣垫片;10-锁扣
图8  钢卷包装
1-钢卷;2-外周防锈纸;3-内芯防锈纸;4-纸内护角;5-纸外护角;6-铁圆护板;7-铁内护角; 8-铁外护角;9-外周包板;10-内周护板;11-周向捆带;12-径向捆带;13-锁扣垫片;14-锁扣
图9  钢卷包装
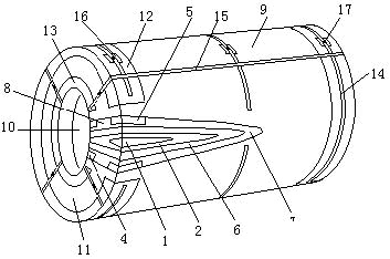
1-钢卷;2-外周防锈纸;3-内芯防锈纸;4-纸内护角;5-纸外护角;6-塑料套;7-外周瓦楞纸; 8-圆护瓦楞纸;9-外周包板;10-内周护板;11-铁圆护板;12-铁外护角;13-铁内护角;14-周向捆带;15-径向捆带;16-锁扣垫片;17-锁扣
图10  钢卷包装
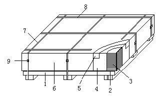
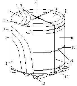
1-分条钢卷;2-缓冲材料;3-外周防锈纸;4-塑料套;5-纸外护角;6-圆形瓦楞纸;7-外周包板; 8-圆盒盖;9-铁外护角;10-周向捆带;11-十字捆带;12-十字锁扣;13-锁扣垫片;14-托架; 15-锁扣
图11  钢卷立式包装
1-钢卷;2-外周防锈纸;3-内芯防锈纸;4-塑料套;5-纸外护角;6-纸内护角;7-外周包板; 8-铁外护角; 9-圆护铁板;10-圆盒盖;11-十字锁扣;12-周向捆带;13-十字捆带; 14-锁扣垫片;15-托架;16-锁扣
图12  钢卷立式包装
1-钢卷;2-外周防锈纸;3-塑料套;4-纸外护角;5-圆形瓦楞纸;6-外周包板;7-铁外护角; 8-圆盒盖;9-十字锁扣;10-周向捆带;11-十字捆带;12-锁扣垫片;13-托架;14-锁扣
图13  钢卷立式包装
5  标志
标志按需要应包括:商标、供方名称、品名、标准、规格、捆包号、用户合同号、炉号、镀层重量、颜色、生产日期、计重方式、净重、毛重、收货单位、防护标志等。
6 质量证明书
每批交货的钢板及钢带(钢卷)必须开具质量证明书。质量证明书上按需要应注明:商标、供方名称、品名、标准、产品规格、钢卷号或捆包号、用户合同号、炉号、颜色、重量、订货单位、件数、标准中规定的各项试验的结果、交货日期、质量证明书签发日期、质量管理部门负责人的签字等。
附录A 
(资料性附录)
包装材料的规定
A.1 捆包所用的包装材料可参考表A.1所示。
表A.1
品   种 包装材料的规定

钢  板
冷轧、涂镀及彩涂
产品
1. 外圈采用产品专用防锈纸,内芯采用中性纸;
2. 护角:3~5mm纸护角;
3. 垫木:横木(80×80mm),纵木(80×120mm)或梯型管(70+80)×70mm,壁厚2.5mm;
4. 上下盖板:上盖板厚度为≥0.8mm、下盖板厚度为0.6~1.7mm的冷轧板或涂镀板;
5. 侧护板:厚度为0.6~1.0mm的冷轧板(表面喷漆),镀锌板,彩涂板;
6. 包装铁盒:厚度0.6~0.8mm的冷轧板(表面喷漆)或涂镀板;
7. 捆带:规格0.8×32mm发兰冷轧钢带
8. 锁扣:0.9×32×57mm;
9. 塑料薄膜:厚度0.1mm;
10.胶带纸:宽度60mm;
11.瓦楞纸板:3或5层,宽度、长度不大于钢板的宽度和长度。




1.垫木: 不少于2根,规格为(80×60mm)或 (70×50mm);
2.托板: 为机制板或夹层板,厚度20±2mm,宽度、长度与镀锡板尺寸相同(允许偏差:-2mm);
3.瓦楞纸板:3或5层,宽度、长度不大于钢板的宽度和长度;
4.保护板:与钢板尺寸一致;
5.防锈包装纸:镀锡板专用;
6.胶带纸:宽度60mm;
7.护角: 钢制(1.8~3.0)×40×40mm,或纸护角(5~10)×40×40mm;
8.捆带: 规格0.6×19mm发蓝冷轧钢带,或PET塑料捆带;
9.侧护板:厚度0.8~1.0mm的涂镀板或冷轧板(表面喷漆);
10.包装铁盒:厚度0.8~1.0mm的涂镀板或冷轧板(表面喷漆)

钢  

冷轧、涂镀及彩涂
产品
1.捆带:0.8×32mm发蓝冷轧钢带;
2.防锈纸:复合防锈纸(冷轧产品用),金属防锈纸、中性纸(涂、镀产品用);
3. 纸护角:纸外护角厚度为3~5mm,纸内护角厚度为2~4mm,宽度为50+100mm;
4. 瓦楞纸:3或5层;
5. 塑料套:厚度为0.1mm;
6. 内外护板:铁内衬板厚度为0.4~0.8mm、外周包板厚度为0.6~1.0mm的冷轧板或涂镀板;
7. 圆护铁板:厚度为0.5~1.0mm的冷轧板,表面喷漆;
8. 铁内护角:厚度为1.8~2.0mm的冷轧板,表面喷漆;
9.铁外护角:厚度为1.4~1.5mm的冷轧板,表面喷漆,有漏水孔;
10.锁扣:0.9×32×57mm;
11.锁扣垫片:塑料制造;
12.胶带纸:宽度为60、80、100mm;
13.井字架:纵2根,80×120×(宽度+10mm),横不少于2根,80×120×(实测值)mm;
14.圆盒盖:厚度为0.6~1.0mm的涂镀板或冷轧板(表面喷漆);
15.十字锁扣:35×150+35×150;
16.立式木托架:按卷径成系列(大于卷径)。
表A.1(续)
品   种 包   装   材   料  的  规  定
钢  




1.捆带:0.8×32mm发蓝冷轧钢带;
2.防锈纸:硅钢专用防锈纸;
3.塑料套:厚度0.1mm;
4.纸护角:纸外护角厚度为3~5mm,纸内护角厚度为2~4mm,宽度为50+100mm;
5.瓦楞纸:3或5层;
6.园护铁板:厚度为0.7~1.0 mm的涂镀板或冷轧板(表面喷漆);
7.铁外护角:厚度为1.4~1.5 mm的涂镀板或冷轧板(表面喷漆),有漏水孔;
8.铁内护角:厚度为1.8~2.0 mm的涂镀板或冷轧板(表面喷漆);
9.内外护板:铁内衬板厚度为0.6~0.8mm、外周包板厚度为0.8~1.2mm的冷轧板或涂镀板;
10.锁扣:32×57 mm;
11.锁扣垫片:塑料或硬纸制造;
12.胶带纸:宽度为60、80、100mm;
13.井字架:纵2根,80×120×(宽度+10mm); 横不少于2根,80×120×(实测值)mm;
14.圆盒盖:厚度为0.6~1.0mm的涂镀板或冷轧板(表面喷漆);
15.十字锁扣:35×150+35×150;
16.立式木托架:按卷径成系列(大于卷径)。
附加说明:
本标准替代Q/BQB400-2002;
本标准对Q/BQB400-2002进行了技术性修改,主要修改内容为:
—— 图7(取消填充材料);
—— 图8(角部护角修改为纸外护角);
—— 包装材料的规格的扩充(附录A)。
本标准的附录A为资料性附录;
本标准由常州精密钢管博客网制造管理部提出。
本标准由常州精密钢管博客网制造管理部起草。
本标准起草人  孙忠明。
本标准于1990年首次发布,1994第一次修订,1999第二次修订;2002年第三次修订。
 
  发布您的需求
       
  
专营宝钢产 常州仁成金属制品有限公司

电话:0519-83611681 

josen@steel-tube.com <<<回首页