宝钢企业标准
冷轧产品的包装、标志及检验文件
(Q/BQB 400-2009 代替Q/BQB 400-2005)
宝钢资源查询

1 范围
本标准规定了冷连轧钢板及钢带、涂镀钢板及钢带、冷轧电工钢带(卷)的包装、标志及检验文件的要求。考虑到制造厂和冷轧产品用户的使用习惯,钢带以下称为钢卷。

2规范性引用文件
下列文件中的条款通过本标准的引用而成为本标准的条款。凡是注日期的引用文件,其随后所有的修改单(不包括勘误的内容)或修订版均不适用于本标准,然而,鼓励根据本标准达成协议的各方研究是否可使用这些文件的最新版本。凡是不注日期的引用文件,其最新版本适用于本标准。
GB/T18253-2000 钢及钢产品 检验文件的类型

3一般要求
3.1钢板及钢卷应包装整齐、捆扎结实。标志字迹应清晰,并应粘贴牢固。包装应能保证产品在正常运输和贮存期间不松散、受潮、变形和损坏。
3.2包装材料应符合有关法律法规的规定。
3.3对于钢带包装,在进行拆除包装物作业时,需方应采取适当的保护措施,避免钢带带头弹出伤人。
3.4相关包装元件的功能描述可参见资料性附录A。在保证包装质量的前提下,供方可选择合适的包装元件替代本标准规定的包装元件。

4钢板的包装
4.1 钢板的包装类型及方式示于表1和图1~图7。
4.2 钢板的包装类型(方式)由需方选择。如需方未选定包装类型(方式),则由供方确定合适的包装类型(方式);如需方对捆(包)重量等有特殊要求,可经供需双方协商确定,并在合同中注明。
4.3对包装类型(方式)1~3,供方也可选择使用免扣打捆方式,此时取消锁扣。

5 钢卷的包装
5.1 钢卷的卧式包装类型(方式)示于表2和图8~图10。
5.2 钢卷的立式包装类型(方式)示于表3和图11~图13。
5.3 钢卷包装类型(方式)中,如果是由纵切钢卷合并成一包,捆(包)重量指该捆(包)所有纵切钢卷的重量之和。
5.4钢卷的包装类型(方式)由需方选择。如需方未选定包装类型,则由供方确定合适的包装类型(方式);如需方对捆(包)重量等有特殊要求,可经供需双方协商确定,并在合同中注明。

6标志
标志内容按需要可包括:商标、供方名称、品名、标准、规格、捆包号、用户合同号、炉号、镀层重量、颜色、制造日期、计重方式、净重、毛重、收货单位、防护标志,堆垛标志、认证标志等。

7检验文件
7.1通常情况下,检验文件的类型应符合GB/T18253中检验文件类型“5.1B”的规定。即由制造厂授权的、独立于生产部门的检验代表,根据规定的检验和试验要求进行检验和试验,并出具检验文件。经供需双方协商,并在合同中注明,也可提供其他类型的检验文件。
7.2检验文件的内容,可按需要注明:商标、供方名称、产品名称、产品订货标准、产品规格、钢卷号或捆包号、用户合同号、炉号、涂料种类、涂层结构、颜色、重量、订货单位、件数、标准中规定的各项试验的结果、交货日期、检验文件签发日期、质量管理部门负责人的签字等。

 
表1
类型及适用产品 包装元件组合 适用范围 标 志 捆(包)
重量(吨)
1
(图1)









1.用上、下盖板包裹;角部捆扎处衬护角;
2.捆扎道次:纵横各不少于3道;
3.托架。
制造厂附近地区的直接用户 标签不少于2个 3.0~5.0
2
(图2) 
1.用专用防锈纸包裹; 塑料薄膜覆盖;
2.上、下盖板和侧护板包裹;
3.捆扎道次:纵横各不少于3道;
4.托架。
制造厂周边省市

 
3
(图3)
1.专用防锈纸包裹;塑料薄膜覆盖;
2.包装盒帽(当钢板堆垛高度小于100mm时,包装盒帽不适用,可用侧护板代替);
3.捆扎道次:纵横各不少于3道;
4.托架。
远距离运输、出口
4
(图4)








内 包 装 外 包 装
制造厂附近地区的直接用户。

标签不少于2个。

0.5~2.3
1.上面和侧面用防锈包装纸进行全封闭包装;
2.防锈纸接缝用胶带纸搭接;
3.上下各用一张盖板保护;
4.上下各放一张瓦楞纸;
5.木台。
1.板包各边部使用护角
2.纵、横各不少于1根捆带,周向不少于1根捆带
3. 免扣打捆;
5
(图5)
1.上面、侧面用防锈包装纸进行全封闭包装;
2.防锈纸接缝用胶带纸搭接;
3.上下各用一张盖板保护;
4.上下各放一张瓦楞纸;
5.板包竖边部用边部护角;
6.周向捆带不少于1根,免扣打捆;
7.木台。
1.围板和盒盖
2.纵、横各不少于2根捆带,周向不少于1根捆带
3.免扣打捆
运输周转少、气候条件好
6
(图6)
1.上面和侧面用防锈包装纸进行全封闭包装;
2.防锈纸接缝用胶带纸搭接;
3.上下各用一张盖板保护;
4.上下各放一张瓦楞纸;
5.板包各边部用护角;
6.纵、横、周向捆带各不少于1根,免扣打捆;
7.木台。
远距离运输、出口
7
(图7)
1.上面和侧面用防锈包装纸进行全封闭包装;
2.防锈纸接缝用胶带纸搭接;
3.上下各用一张盖板保护;
4.上下各放一张瓦楞纸;
5.板包各边部用护角或加厚加宽护角,或在花边处使用填充物;
6. 纵、横、周向捆带各不少于1根,免扣打捆;
7. 木台。
远距离运输、出口(仅适用镀锡花边板)
 
表  2
类型及适用产品 包装元件组合 适用范围 标 志 捆(包)重量(吨)
8
(图8)



1. 内、外圈用专用防锈纸;
2. 捆扎处加纸外护角;
4. 端部加铁内护角;
5. 捆扎道次:径向、圆周各不少于3道。  
制造厂附近直接用户 标签不少于2个,粘贴怕湿、小心轻放、向上或开卷方向标志。 3.0~15.0
9
(图9) 
1. 内、外圈用专用防锈纸包裹;
2. 端部加纸内、外护角;
3. 内、外圈分别用外周包板和内周护板封闭包装;
4. 端部加铁圆护板,铁内、外护角;
5. 捆扎道次:径向、圆周不少于3道;
国内北方用户
10
(图10)
1.内、外圈用专用防锈纸包裹;
2.加塑料套;
3.端部加纸内、外护角,圆护瓦楞纸;
4.外周瓦楞纸(或纤维板);
5.内、外用外周包板和内周护板封闭包装;
6.端部加铁圆护板,铁内、外护角;
7.捆扎道次:径向、圆周不少于3道。
国内南方用户、出口
表  3
类型及适用产品 包装元件组合 适用范围 标 志 捆(包)重量(吨)
11
(图11)



1.纵切钢卷(分条卷)之间加缓冲材料;
2.专用防锈纸全封闭包装;
3.塑料套全封闭包装;
4.外周加外周包板;
5.顶部加纸外护角圆盒盖;
6.底部加圆形瓦楞纸;
7.捆扎道次:周向不少于3道,十字2道;
8.立式木托架。  
制造厂附近直接用户 标签不少于2个;粘贴怕湿、小心轻放和开卷方向标志。 3.0~15.0
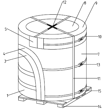
12
(图12)

1. 专用防锈纸全封闭包装;
2. 塑料套全封闭包装;
3. 外周加外周包板;
4. 顶部加纸内护角、纸外护角、圆盒盖和铁外护角;
5. 底部加铁外护角和铁圆护板;
6. 捆扎道次:周向不少于3道,十字2道;
7. 立式木托架。

远距离运输、出口
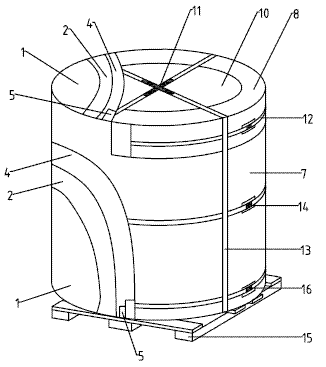
13
(图13)
1.专用防锈纸全封闭包装;
2.塑料套全封闭包装;
3.外周加外周包板;
4.顶部加纸外护角、圆盒盖和铁外护角;
5.底部加圆形瓦楞纸;
6.捆扎道次:周向不少于3道,十字2道;
7.立式木托架。  
远距离运输、出口
1-托架;2-下盖板;3-钢板;4-上盖板; 5-横向捆带;6-纵向捆带;7-护角;8-锁扣 1-托架;2-下盖板;3-钢板;4-防锈纸;5-塑料薄膜; 6-侧护板;7-上盖板;8-横向捆带;9-纵向捆带;10-锁扣
图1  钢板包装 图2  钢板包装
1-托架;2-下盖板;3-钢板;4-防锈纸;5-塑料薄膜; 6-盒帽;7-横向捆带;8-纵向捆带;9-锁扣
图3  钢板包装
(内包装) (外包装)
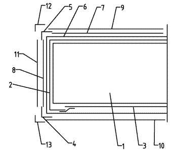
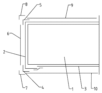
1-木台;2-下盖板;3-钢板;4-上盖板;5-底部瓦楞纸;6-防锈纸;7-上部瓦楞纸;8-边部护角; 9-上部护角;10-下部护角;11-周向捆带;12-横向捆带;13-纵向捆带
图 4 钢板包装

                                       
(内包装)
(外包装)
1-木台;2-下盖板;3-钢板;4-上盖板;5-底部瓦楞纸;6-防锈纸;7-上部瓦楞纸;8-边部护角; 9-周向捆带(内);10-围板;11-盒盖;12-周向捆带(外);13-横向捆带(外);14-纵向捆带(外)
图 5钢板包装
(内包装)
(外包装)
1-木台;2-下盖板;3-钢板;4-上盖板;5-底部瓦楞纸;6-防锈纸;7-上部瓦楞纸;8-边部护角; 9-上部护角;10-下部护角;11-周向捆带(内);12-横向捆带(内);13-纵向捆带(内)14-围板; 15-盒盖;16-周向捆带(外);17-横向捆带(外);18-纵向捆带(外)
图 6钢板包装
(内包装)
(外包装)
1-木台;2-下盖板;3-钢板;4-上盖板;5-底部瓦楞纸; 6-防锈纸;7-上部瓦楞纸; 8-端面瓦楞纸;9-边部加厚加宽护角;10-上部加厚加宽护角;11-下部护角;12-周向捆带(内);13-横向捆带(内); 14-纵向捆带(内);15-围板;16-盒盖;17-周向捆带(外);18-横向捆带(外);19-纵向捆带(外)
图 7 钢板包装
1-钢卷;2-外周防锈纸;3-铁内护角;4-纸外护角;5-周向捆带;6-径向捆带;7-锁扣垫片;8-锁扣;9-内芯防锈纸
图 8钢板包装
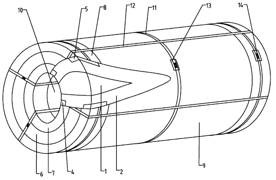
1-钢卷;2-外周防锈纸;3-内芯防锈纸;4-纸内护角;5-纸外护角;6-铁圆护板;7-铁内护角;8-铁外护角;9-外周包板;10-内周护板;11-周向捆带;12-径向捆带;13-锁扣垫片;14-锁扣
图9 钢卷包装
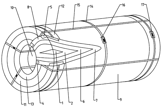
1-钢卷;2-外周防锈纸;3-内芯防锈纸;4-纸内护角;5-纸外护角;6-塑料套;7-外周瓦楞纸或纤维板;8-圆护瓦楞纸;9-外周包板;10-内周护板;11-铁圆护板;12-铁外护角;13-铁内护角;14-周向捆带;15-径向捆带;16-锁扣垫片;17-锁扣
图10 钢卷包装
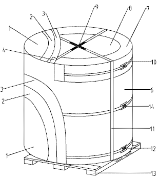
1-纵切钢卷(分条卷);2-缓冲材料;3-外周防锈纸;4-塑料套;5-纸外护角;6-圆形瓦楞纸;7-外周包板;8-圆盒盖;9-铁外护角;10-周向捆带;11-十字捆带;12-十字锁扣;13-锁扣垫片;14-立式木托架;15-锁扣
图11 纵切钢卷(分条卷)立式包装
1-钢卷;2-外周防锈纸;3-内芯防锈纸;4-塑料套;5-纸外护角;6-纸内护角;7-外周包板;8-铁外护角;9-铁圆护板;10-圆盒盖;11-十字锁扣;12-周向捆带;13-十字捆带;14-锁扣垫片;15-立式木托架;16-锁扣
图12 钢卷立式包装
1-钢卷;2-外周防锈纸;3-塑料套;4-纸外护角;5-圆形瓦楞纸;6-外周包板;7-铁外护角;8-圆盒盖;9-十字锁扣;10-周向捆带;11-十字捆带;12-锁扣垫片;13-立式木托架;14-锁扣
图13  钢卷立式包装
附录A 
(资料性附录)
包装材料的功能
A.1各产品包装所用的包装元件的功能可参考表A.1的描述。在保证包装质量的前提下,表中所列包装元件的材料可用其他新型材料替代。
表A.1
品   种 包装材料的规定

钢  板









1. 托架:便于钢板的叠放和吊运。
2. 下盖板:增加钢板的受力面积,使钢板受力均匀。
3. 瓦楞纸(或平板纸、纤维板):具有缓冲作用,避免叠包堆放对钢板造成损伤。
4. 防锈纸:防止钢板生锈。
5. 胶带:固定防锈纸、塑料薄膜、护角等包装材料。
6. 塑料薄膜:缓解防锈纸缓蚀剂的挥发速度,减少雨水对钢板顶部的侵袭。
7. 护角:避免钢板边部受外力损伤。
8. 侧护板:避免钢板侧面受外力损伤,防止防锈纸、护角受外力破损,减少雨水对钢板的侵袭。
9. 上盖板:避免钢板顶面受外力损伤,防止防锈纸、塑料薄膜、瓦楞纸等受外力破损,减少雨水对钢板的侵袭。
10. 盒帽:避免钢板侧面和顶面受外力损伤,防止防锈纸、塑料薄膜、瓦楞纸、护角受外力破损,减少雨水对钢板的侵袭,提升钢板包装的外观形象。
11. 捆带:固定钢板,避免在运输过程中出现松散。
12. 锁扣:固定捆带。




1. 木台:便于钢板的叠放和吊运。
2. 瓦楞纸(或平板纸、纤维板等):具有缓冲作用,避免叠包堆放对钢板造成损伤。
3. 上下盖板:保持钢板清洁。
4. 防锈纸:防止钢板生锈。
5. 胶带:固定防锈纸、护角等包装材料。
6. 护角:避免钢板边部受外力损伤。
7. 围板:避免钢板侧面受外力损伤,防止防锈纸、护角受外力破损,减少雨水对钢板的侵袭。
8. 盒盖:避免钢板顶面受外力损伤,防止防锈纸、瓦楞纸受外力破损,减少雨水对钢板的侵袭。
9. 捆带:固定钢板,避免在运输过程中出现松散。

钢  













1. 捆带:固定钢卷,避免在运输过程中出现松散。
2. 铁包角:固定内捆带,保护钢卷边部,避免内捆带对钢卷边部造成损伤。
3. 防锈纸:防止钢卷生锈。
4. 胶带:对防锈纸、塑料套进行密封,对瓦楞纸、纸护角进行固定。
5. 塑料套:缓解防锈纸缓蚀剂的挥发速度,减少雨水对钢卷的侵袭。
6. 瓦楞纸(或平板纸、纤维板等):具有缓冲作用,避免钢卷在运输、堆放中受外力损伤。
7. 纸护角:避免钢卷边部受外力损伤。
8. 内周护板:避免钢卷卷芯受外力损伤,防止防锈纸、塑料套、纸护角受外力破损,减少雨水对钢
卷的侵袭。
9. 外周包板:避免钢卷外周受外力损伤,防止防锈纸、塑料套、瓦楞纸、纸护角受外力破损,减少雨水对钢卷的侵袭。
10. 铁圆护板:避免钢卷端面受外力损伤,防止防锈纸、塑料套、瓦楞纸、纸护角受外力破损,减少雨水对钢卷的侵袭。
11. 铁内护角:避免钢卷内圈边部受外力损伤,固定内周护板和铁圆护板,减少雨水对钢卷的侵袭。
12. 铁外护角:避免钢卷外圈边部受外力损伤,固定外周包板和铁圆护板,减少雨水对钢卷的侵袭。
13. 锁扣:固定捆带。
14. 锁扣垫片:避免锁扣对钢卷形成损伤。
15. 井字架:固定钢卷,使钢卷在运输过程中保持稳定。
16. 缓冲材料:具有缓冲作用,避免分条钢卷相互冲击发生损坏。
17. 圆盒盖:避免立式卷顶部受外力损伤,防止防锈纸、塑料套、纸护角受外力破损,减少雨水对钢
18. 卷的侵袭。
19. 十字锁扣:避免立式卷两根交叉的捆带发生偏移。
20. 立式木托架:固定钢卷,使立式钢卷在运输过程中保持稳定、便于吊运。
21. 其他。
 
附加说明:
本标准替代Q/BQB400-2005;
本标准与Q/BQB400-2005相比,主要变化如下:
——修改标准名称;
——增加对包装一般要求的描述;
——修改各种包装类型的适用范围描述;
——修改图8的规定;
——质量证明书修改为检验文件类型,并增加相应的描述;
——修改包装元件的功能性描述。
本标准的附录A为资料性附录。
本标准由宝山钢铁股份有限公司质量部提出。
本标准由宝山钢铁股份有限公司质量部起草。
本标准起草人 孙忠明
本标准于1990年首次发布,1994第一次修订,1999第二次修订;2002年第三次修订;2003年第四次修订,2005年第五次修订,本次为第六次修订。

 

  
专营宝钢产 常州仁成金属制品有限公司

电话:0519-83611681 

josen@steel-tube.com <<<回首页